EasyManua.ls Logo

Electrolux E32AR75FPS - Operating Cycle Illustrations - Mechanical

Electrolux E32AR75FPS
112 pages
Print Icon
To Next Page IconTo Next Page
To Next Page IconTo Next Page
To Previous Page IconTo Previous Page
To Previous Page IconTo Previous Page
Loading...
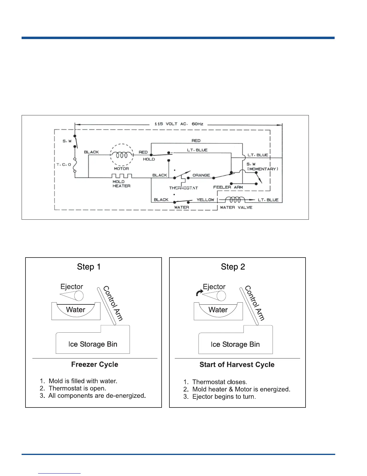
Ice Maker
4-12
• Maker connected to electricity.
• Mold temperature above 9°F.
• Thermostat open.
• Motor not rotating.
• Mold heater off.
• Control Arm down.
• Feeler Arm Switch closed C to NO.
• Hold Switch closed C to NC.
• Water Fill Switch open.
14
Operating Cycle Illustrations - Mechanical
The following diagrams illustrate the mechanical operation of an ice maker.

Table of Contents

Related product manuals