EasyManua.ls Logo

Electrolux ENN3153AOW - INSTALLATION BASICS; Positioning Requirements; Electrical Connection Procedure

Electrolux ENN3153AOW
28 pages
Print Icon
To Next Page IconTo Next Page
To Next Page IconTo Next Page
To Previous Page IconTo Previous Page
To Previous Page IconTo Previous Page
Loading...
INSTALLATION
WARNING!
Read the "Safety Information" care-
fully for your safety and correct op-
eration of the appliance before in-
stalling the appliance.
POSITIONING
Install this appliance at a location where the
ambient temperature corresponds to the
climate class indicated on the rating plate
of the appliance:
Cli-
mate
class
Ambient temperature
SN +10°C to + 32°C
N +16°C to + 32°C
ST +16°C to + 38°C
T +16°C to + 43°C
ELECTRICAL CONNECTION
CAUTION!
Any electrical work required to in-
stall this appliance should be car-
ried out by a qualified electrician or
competent person.
WARNING!
This appliance must be earthed.
The manufacturer declines any lia-
bility should these safety measures
not be observed.
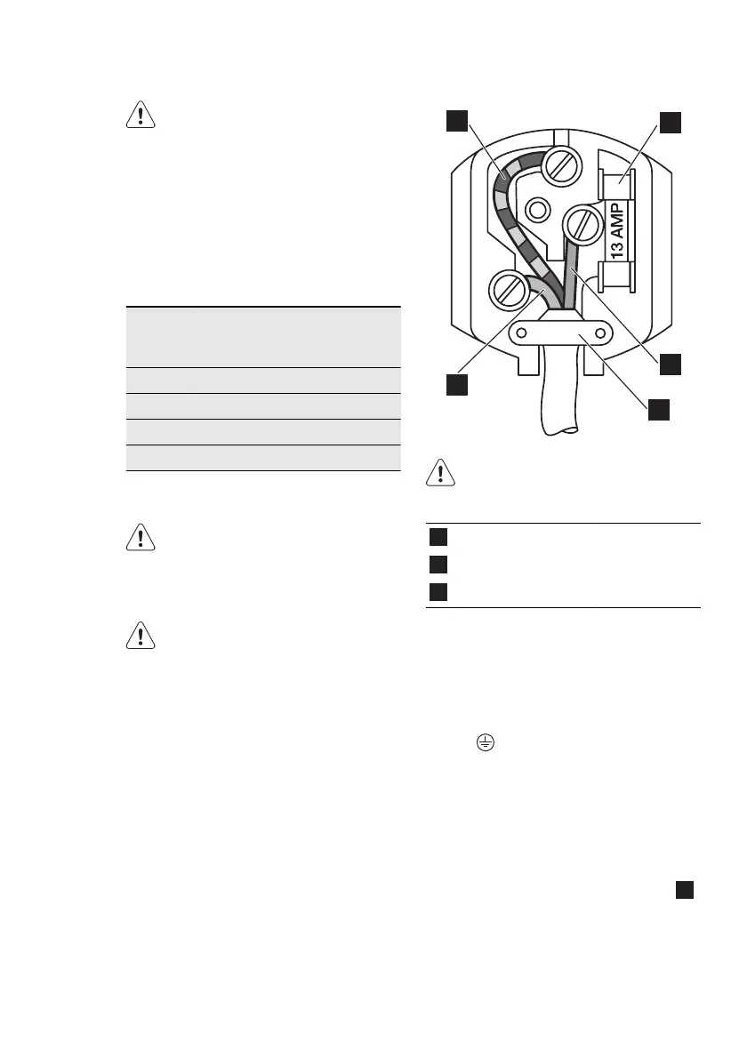
1
2
3
4
5
The wires in the mains lead are col-
oured in accordance with the fol-
lowing code:
1
Green and Yellow: Earth
3
Brown: Live
5
Blue: Neutral
As the colours of the wires in the mains
lead of this appliance may not correspond
with the coloured markings identifying the
terminals in your plug, proceed as follows:
1.
Connect the wire coloured green and
yellow to the terminal marked either
with the letter “E“ or by the earth sym-
bol
or coloured green and yellow.
2.
Connect the wire coloured blue to the
terminal either marked with the letter
“N“ or coloured black.
3.
Connect the wire coloured brown to
the terminal either marked with the
“L“ or coloured red.
4.
Check that no cut, or stray strands of
wire is present and the cord clamp
4
is secure over the outer sheath.
5.
Make sure the electricity supply voltage
is the same as that indicated on the
appliance rating plate.
6.
Switch on the appliance.
ENGLISH 17

Related product manuals