EasyManua.ls Logo

Elka ES 80 - Examples for use of loop detectors

Default Icon
46 pages
Print Icon
To Next Page IconTo Next Page
To Next Page IconTo Next Page
To Previous Page IconTo Previous Page
To Previous Page IconTo Previous Page
Loading...
ES 50 – ES 80
36
13 Examples for use of loop detectors
B3/2 This loop may be used for opening or for detecting that a vehicle is present
(connected to socket B3 by contacts X1/24 top und X1/24 bottom).
B3/1 This loop is for the safety only and is placed under the barrier boom (connected to
socket B3 by contacts X1/23 top und X1/23 bottom).
B2
This loop is for opening only (connected directly to socket B2 – contacts 7 and 8).
Push button, key switch, card reader, coin selector, etc.
Photo-cell
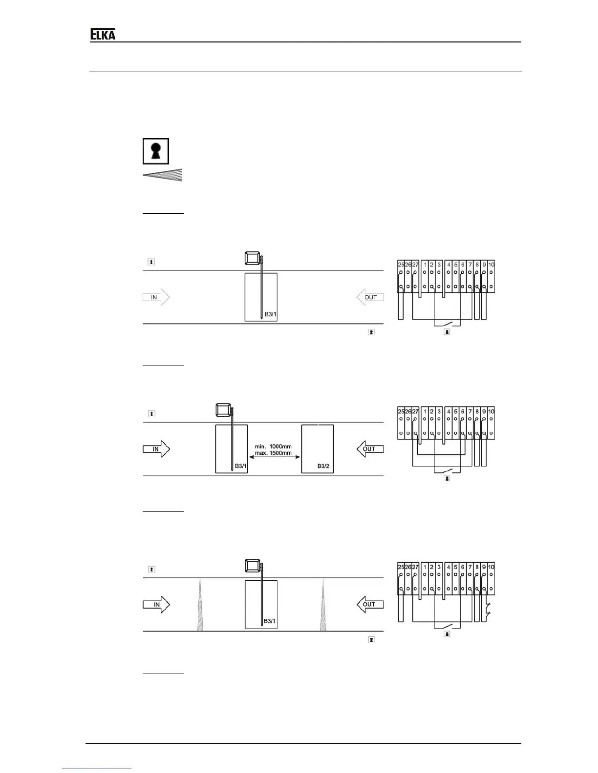
Example 1 – (for 1-channel loop detector on socket B3)
Entrance and Exit – opening with push button. Safety and closing with loop detector on socket B3/1 (all
jumpers at default settings). Remove red jumper of socket B3 and jumper between the terminals 27
bottom and 6 bottom.
Drawing 13
Example 2 – (for 2-channel loop detector on socket B3)
Entrance – opening with a key switch. Safety and closing with both loops B3/1 and B3/2. Exit - opening
with loop B3/2. Safety and closing with both loops (all jumpers at default settings). Remove red jumper
of socket B3 and jumper between the terminals 25 top and 25 bottom. DIP S8 = ’on’.
Drawing 14
Example 3 – (for 1-channel loop detector on socket B3)
Entrance and Exit – opening with a coin selector. Safety with photo-cells and loop B3/1. Automatic
closure when the time to stay open has elapsed. Remove the jumper between 9 top and 9 bottom and
connect the safety contact of the photo-cells to them (all jumpers at default settings). Remove red
jumper of socket B3 and jumper between the terminals 27 bottom and 6 bottom.
Drawing 15
Example 4 – (for 2-channel loop detector on socket B3)
Entrance and Exit - with card reader. The loop B3/2 allows use of the card reader only when a vehicle
is on the loop. The loop B3/1 is for safety and closing when a vehicle leaves the loop. The jumpers are
at the default settings. Remove the jumper between terminals 6 bottom and 27 bottom and connect the
contact from the card reader here. Remove the red jumper of socket B3 (between terminals 6 and 10).

Table of Contents

Related product manuals