EasyManua.ls Logo

Emerson Rosemount SAM42 - Page 10

Emerson Rosemount SAM42
80 pages
Print Icon
To Next Page IconTo Next Page
To Next Page IconTo Next Page
To Previous Page IconTo Previous Page
To Previous Page IconTo Previous Page
Loading...
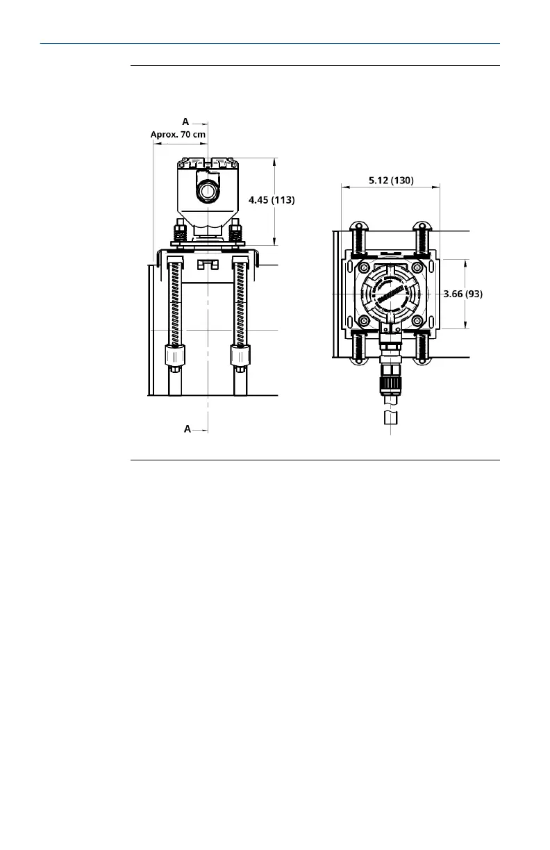
Figure 2-1: Installation diagram of SAM42 Acoustic Particle
Monitor
Dimensions are in inches (millimeters).
2.2 
Device ID configuration
Rosemount SAM42 Acoustic Particle Monitor will have the device ID
set to 1 by default. When installing multiple devices on the same bus,
change/configure the devices so that they have a unique ID, as not to
be confused later.
It is recommended that this is done in a safe area, using the
configuration cable prior to being installed in the field. To complete
this phase, follow the process below:
Quick Start Guide May2024
10 Emerson.com/Rosemount