EasyManua.ls Logo

EMKO ESM-3722 - Page 65

EMKO ESM-3722
68 pages
Print Icon
To Next Page IconTo Next Page
To Next Page IconTo Next Page
To Previous Page IconTo Previous Page
To Previous Page IconTo Previous Page
Loading...
13
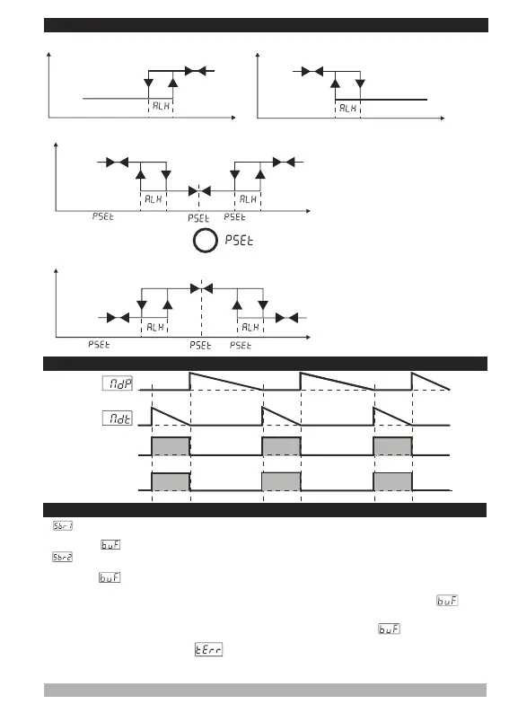
5.2 Gráficos de la salida de alarma de ESM-3722
i
Alarma alta de proceso
ON (Encendido)
OFF (Apagado)
Salida
de alarma
Valor de proceso
Alarma baja de proceso
ON
OFF
Salida
de alarma
Valor de proceso
Alarma de banda de desviación
ON
OFF
Salida
de alarma
( - Ajuste de alarma)
= Valor definido del proceso (Temperatura o Humedad)
Alarma del intervalo de desviación
ON
OFF
Salida
de alarma
Valor de proceso
Ajuste de alarma
Ajuste de alarma
( +Ajuste de alarma)
( - Ajuste de alarma)
( +Ajuste de alarma)
Valor de proceso
5.3 Gráficos de funcionamiento del rotador de la huevera de ESM-3722
Led de salida del
rotador de la huevera
Salida del rotador
de la huevera
5.4 Mensajes de error en el controlador Hatcher de ESM 3722
1-
ninguna conexión del sensor. Mientras se muestre este mensaje en la pantalla, si la selección de la función de la
alarma sonora es 3, 5, 7 o 8, la alarma sonora interna empieza a funcionar.
Fallo en el parpadeo de la pantalla del sensor de temperatura. La conexión del sensor es incorrecta o no hay
2-
ninguna conexión del sensor. Mientras se muestre este mensaje en la pantalla, si la selección de la función de la
alarma sonora es 4, 6, 7 o 8, la alarma sonora interna empieza a funcionar.
Fallo en el parpadeo de la pantalla del sensor de humedad. La conexión del sensor es incorrecta o no hay
3-
temperatura y que la salida de la alarma está activada. Si la selección de la función de la alarma sonora es 1, 5
o 8, la alarma sonora interna empieza a funcionar.
En la pantalla principal de operaciones, si la pantalla superior parpadea, quiere decir que sale de la alarma de
4-
humedad y que la salida está activada. Si la selección de la función de la alarma sonora es 2, 6 o 8, la alarma
sonora interna empieza a funcionar.
En la pantalla principal de operaciones, si la pantalla inferior parpadea, quiere decir que sale de la alarma de
5- Error de temperatura del Autoajuste. Aparece en la pantalla principal. Este fallo se produce cuando la
lectura de temperatura del sensor está más cerca del valor de ajuste del proceso que el 5% de la escala (5 ° C para
el sensor ProNem Mini PMI-P). No está permitida la operación de Autoajuste.

Related product manuals