EasyManua.ls Logo

Emos T105 - Page 19

Emos T105
80 pages
Print Icon
To Next Page IconTo Next Page
To Next Page IconTo Next Page
To Previous Page IconTo Previous Page
To Previous Page IconTo Previous Page
Loading...
19
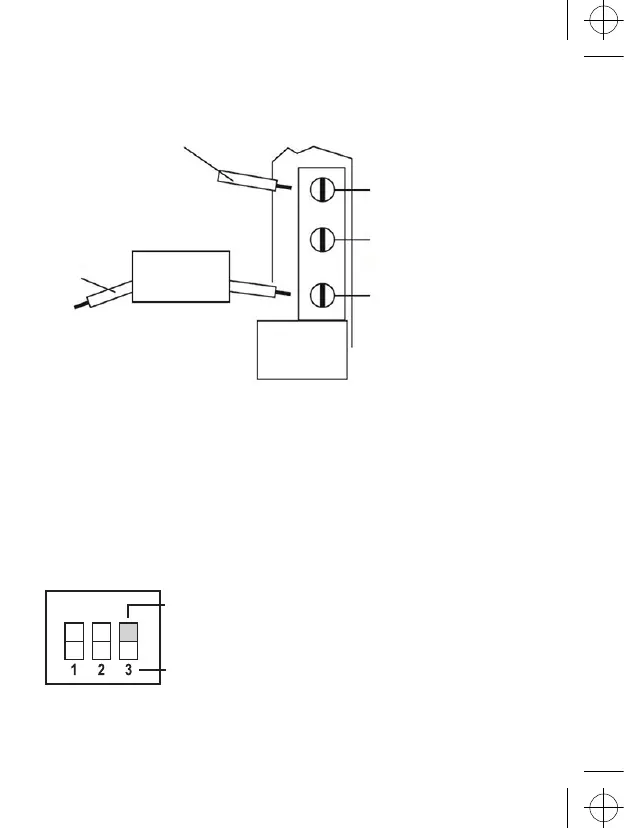
Zapojovacia schéma
Live - pripojenie napájania
Neutral
nulovací vodič
Kúrenie
či
chladenie
Max.5(3)A
COM - kontakt spínača
Uzemnenie
NO - kontakt spínača
Výber ohrievacieho / klimatizačného systému
Pred výberom systému odstráňte kryt ovládacej jednotky. Na plošnom spoji ovládacej jednotky umiestnené
prepínače typu DIP.
Tieto 3 prepínače sa používajú na kontrolu rozptylu a prepínanie vykurovacieho / klimatizačného systému. Nastavte
prepínač DIP (pozícia 3)
v závislosti na vašej voľbe vykurovacieho či klimatizačného systému, ako je znázornené na nasledujúcom diagrame.
On
Zapnuté: vykurovanie
Vypnuté: klimatizácia

Related product manuals