EasyManua.ls Logo

Emos T105 - Schemat Połączeń

Emos T105
80 pages
Print Icon
To Next Page IconTo Next Page
To Next Page IconTo Next Page
To Previous Page IconTo Previous Page
To Previous Page IconTo Previous Page
Loading...
26
P5602 T105-man-100x126 0-0-0-K
EMOS spol. s r. o.
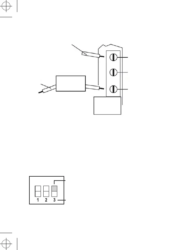
Schemat połączeń
Live - podłączenie zasilania
Neutral
- przewód zerowy
Ogrzewanie
lub
chłodzenie
Maks. 5(3)A
COM - zacisk wspólny
Uziemienie
NO - styk czynny
Wybór systemu grzewczego/klimatyzacji
Przed wybraniem systemu usuwamy obudowę termostatu. Na płytce drukowanej termostatu znajdują się przełączniki
typu DIP.
Te 3 przełączniki wykorzystywane do kontroli histerezy i przełączania systemu grzewczego/klimatyzacji. Przełącznik
DIP (pozycja 3) ustawiamy zależnie od wyboru systemu grzewczego lub klimatyzacji tak, jak jest to pokazane na
następującym rysunku.
On
Załącz (na górze) - ogrzewanie
Wyłącz(na dole) – klimatyzacja

Related product manuals