EasyManua.ls Logo

Emos T105 - Schema de Conectare

Emos T105
80 pages
Print Icon
To Next Page IconTo Next Page
To Next Page IconTo Next Page
To Previous Page IconTo Previous Page
To Previous Page IconTo Previous Page
Loading...
75
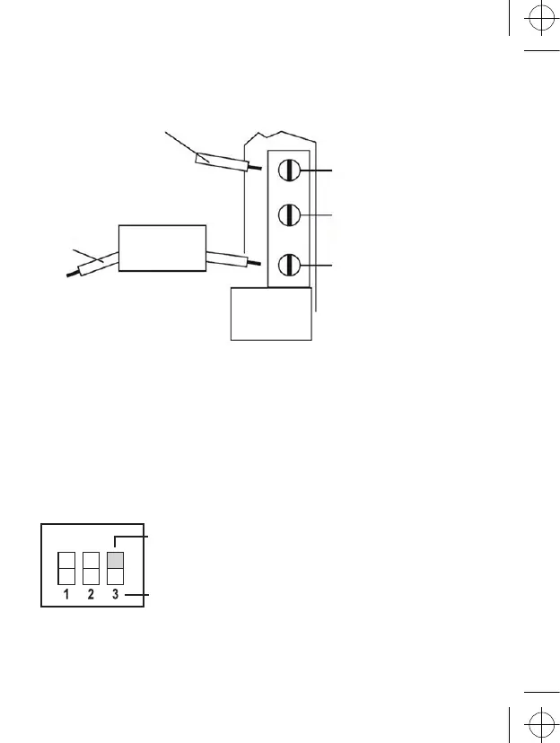
Schema de conectare
Live - racordarea alimentării
Neutral
- conductor nul
Încălzire
ori
răcire
Max.5(3)A
COM - contactul comutatorului
Împământare
NO - contact de conectare
Selectarea sistemului de încălzire/climatizare
Înaintea selectării sistemului îndepărtaţi capacul de pe unitatea de comandă. Pe placa PCB a unităţii de comandă
sunt amplasate comutatoarele de tip DIP.
Aceste 3 comutatoare se folosesc pentru controlul abaterii şi comutatrea sistemului de încălzire/climatizare. Reglaţi
comutatorul DIP (poziţia 3) în raport de opţiunea dumneavostră pentru sistemul de încălzire sau răcire, cum este
indicat pe diagrama de mai jos.
On
Pornit: încălzire
Oprit: climatizare

Related product manuals