EasyManua.ls Logo

Emos T105 - Схема Підключення

Emos T105
80 pages
Print Icon
To Next Page IconTo Next Page
To Next Page IconTo Next Page
To Previous Page IconTo Previous Page
To Previous Page IconTo Previous Page
Loading...
68
P5602 T105-man-100x126 0-0-0-K
EMOS spol. s r. o.
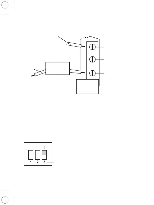
Схема підключення.
Live - підключення до напруги
Neutral - провідник
заземлення
нагрівання
чи
охолодження
Макс.5(3)A
COM - контакт вмикача
Заземлення
NO - контакт вмикача
Вибір системи опалення/кондиціювання повітря
Перш ніж вибрати систему управління зніміть кришку термостату. На поверхні термостата розташовані
перемикачі типу DIP.
Ці 3 перемикачі використовуються для перевірки дисперсії та перемикання системи опалення/кондиціювання.
Налаштуйте перемикач DIP (позиція 3) в залежності від вашого вибору системи опалення або кондиціювання,
як показано на послідуючій діаграмі.
On
Ввімкнуто: опалення
Вимкнуто: кондиціювання

Related product manuals