EasyManua.ls Logo

Emos T105 - Page 40

Emos T105
80 pages
Print Icon
To Next Page IconTo Next Page
To Next Page IconTo Next Page
To Previous Page IconTo Previous Page
To Previous Page IconTo Previous Page
Loading...
40
P5602 T105-man-100x126 0-0-0-K
EMOS spol. s r. o.
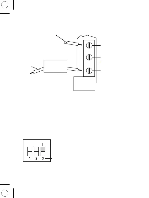
Shema priključitve
Live - priključno napajanje
Neutral
- nični vodnik
Ogrevanje
ali
hlajenje
Maks. 5(3) A
COM - kontakt stikala
Ozemljitev
NO - preklopni kontakt
Izbira ogrevalnega/klimatizacijskega sistema
Pred izbiro sistema odstranite pokrov upravljalne enote. Na tiskanem vezju upravljalne enote so nameščena stikala
tipa DIP.
Ta 3 stikala se uporabljajo za kontrolo območja in preklapljanja ogrevalnega/klimatizacijskega sistema. Nastavite
stikalo DIP (pozicija 3) v odvisnosti od vaše izbire ogrevalnega ali klimatizacijskega sistema, kot je prikazano v
naslednjem diagramu.
On
Vklopljeno: ogrevanje
Izklopljeno: klimatizacija

Related product manuals