EasyManua.ls Logo

Emos T105 - Page 47

Emos T105
80 pages
Print Icon
To Next Page IconTo Next Page
To Next Page IconTo Next Page
To Previous Page IconTo Previous Page
To Previous Page IconTo Previous Page
Loading...
47
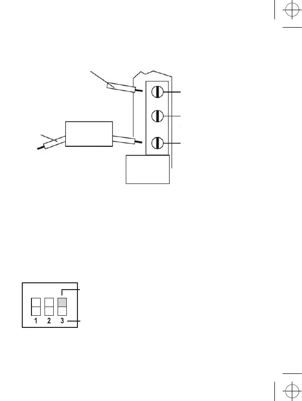
Shema priključenja
L - priključenje napajanja
Neutral
- vodič nuliranja
Grijanje
ili
hlađenje
Maks.5(3)A
COM - kontakt sklopke
Uzemljenje
NO - sklopni kontakt
Odabir grijnog/klimatizacijskog sustava
Prije odabira sustava skinite poklopac sa upravljačke jedinice. Na ravnom spoju upravljačke jedinice nalaze se
prekidači tipa DIP.
Ova 3 prekidača koriste se za kontrolu diferencije i prebacivanje grijnog/klimatizacijskog sustava. Namjestite
prekidač DIP (pozicija 3)
s obzirom na vaš odabir grijnog ili klimatizacijskog sustava, kao što je prikazano na slijedećem grafu.
On
Uključeno: grijanje
Isključeno: klimatizacija

Related product manuals