EasyManua.ls Logo

Epson Expression Photo XP-8600 - Page 18

Epson Expression Photo XP-8600
356 pages
Print Icon
To Next Page IconTo Next Page
To Next Page IconTo Next Page
To Previous Page IconTo Previous Page
To Previous Page IconTo Previous Page
Loading...
18
4
USB port for external USB devices
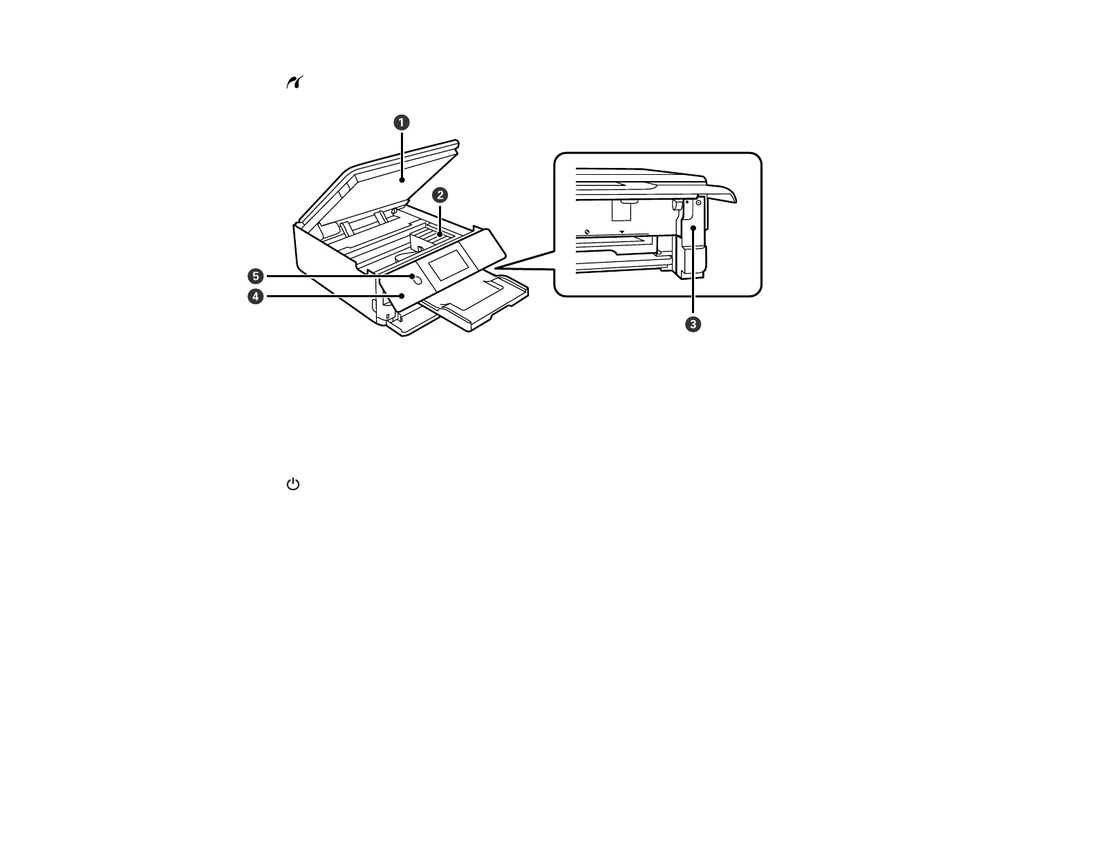
1 Scanner unit
2 Ink cartridge holder
3 Maintenance box cover
4 Control panel
5
power button and light
Parent topic: Product Parts Locations

Table of Contents

Related product manuals