EasyManua.ls Logo

Equalizer International FA4TM - Parts Lists

Equalizer International FA4TM
35 pages
Print Icon
To Next Page IconTo Next Page
To Next Page IconTo Next Page
To Previous Page IconTo Previous Page
To Previous Page IconTo Previous Page
Loading...
FLANGE ALIGNMENT TOOLS
OPERATOR INSTRUCTION MANUAL
PAGE 25
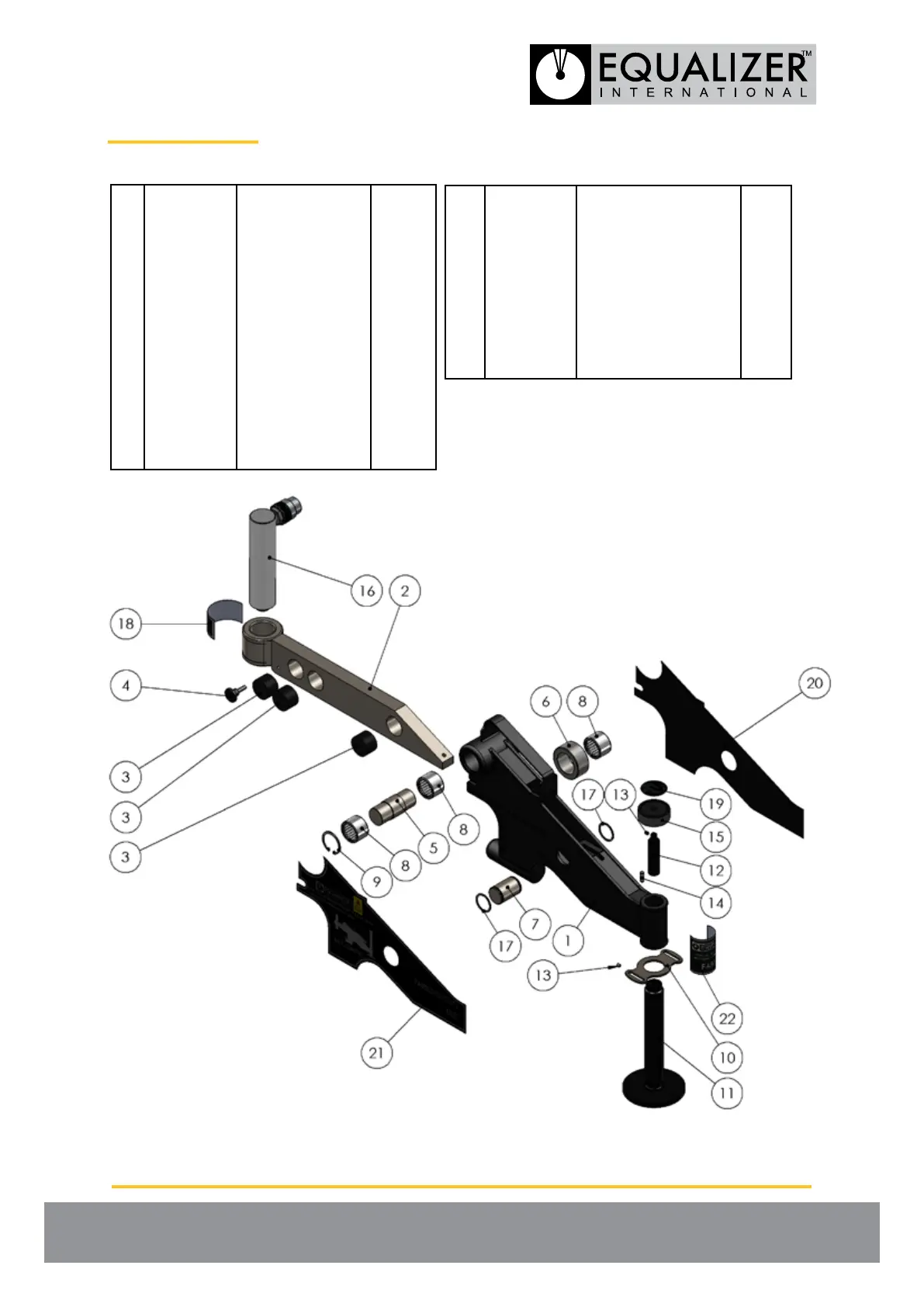
6.5 PARTS LISTS
01
02
03
04
05
06
07
08
09
10
11
12
13
14
15
230100-01
230200-01
230202-01
230203-01
230300-01
230400-01
230500-01
230600-01
230700-01
230802-01
220600-01
220700-01
300401-01
641201-01
713001-01
Main Body
Wing Arm
Plastic Insert
M6 Release Knob
Front Roller Pin
Rear Roller
Rear Roller Pin
Needle Bearing
Circlip O/D 40
Buckle
Leg Screw
Leg Screw Ext.
M5x6 Set Screw
Dowel Pin 6x18
Release Valve
01 ea
01 ea
03 ea
03 ea
01 ea
01 ea
01 ea
03 ea
01 ea
01 ea
01 ea
01 ea
01 ea
01 ea
01 ea
16
17
18
19
20
21
22
23
24
903101-01
901601-01
070233-01
070273-01
070276-01
070277-01
070278-01
400270-01
400280-01
6T H. Cylinder
Spirol Clip
Logo For Wing
Drop L. Knob Sticker
Body Plate Sticker L.
Body Plate Sticker R.
Eq. Logo For Boss
Ratchet
(Not Illustrated)
Ratchet Strap
(Not Illustrated)
01 ea
02 ea
01 ea
01 ea
01 ea
01 ea
01 ea
01 ea
01 ea
Item Part Description Qty Item Part Description Qty