EasyManua.ls Logo

ermaf P 40 - Mobile Version

ermaf P 40
29 pages
Print Icon
To Next Page IconTo Next Page
To Next Page IconTo Next Page
To Previous Page IconTo Previous Page
To Previous Page IconTo Previous Page
Loading...
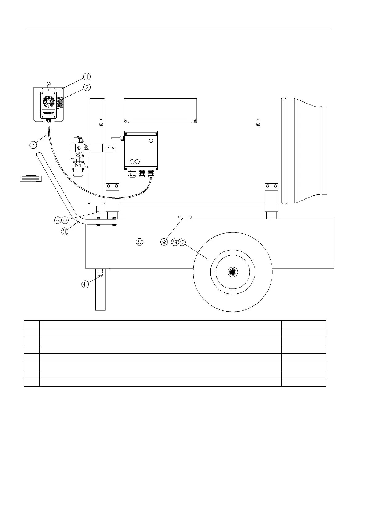
11 Assembly Drawing/Spare parts list P 40 - P 120 Page 26
11.1. Option: Mobile version
2
Room thermostat TH215
N50260146
3
Cable 3 x 1,5 x 3 mtr.
N51400089
36
Push handle
N51700154
37
Oil tank 160 lt
N51700029
38
Oil tank cap
N51700052
39
Wheel ø400mm massive
N51700050
40
End cap wheel ø25
N51700051
41
¼“ stop to empty tank
N51700053

Related product manuals