EasyManua.ls Logo

ESAB A6 - Page 63

ESAB A6
78 pages
Print Icon
To Next Page IconTo Next Page
To Next Page IconTo Next Page
To Previous Page IconTo Previous Page
To Previous Page IconTo Previous Page
Loading...
- 63 -
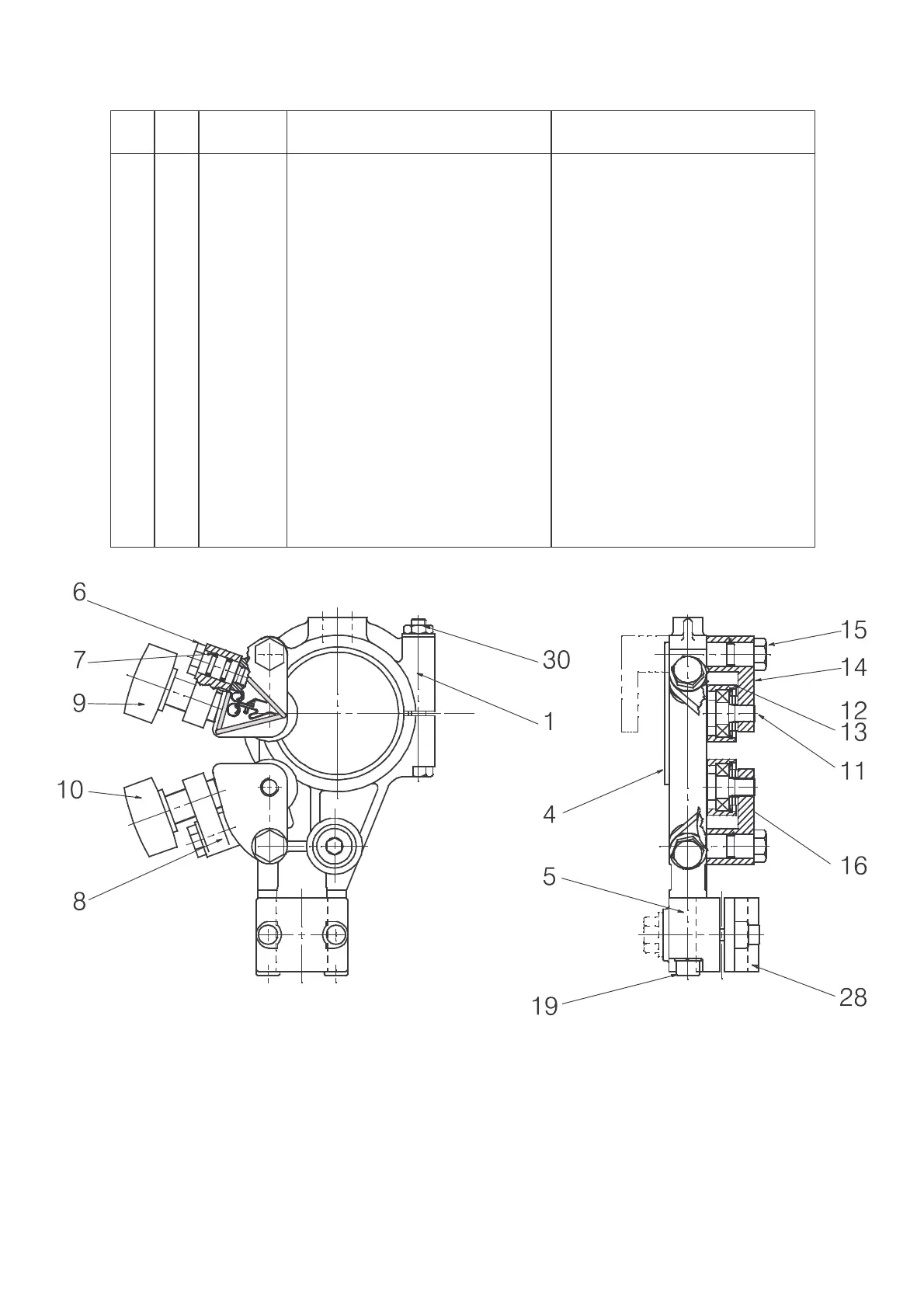
&)*+'
Item
no.
Qty Ordering no. Denomination Notes
0147639887 Wire Wire straightener(right mounted) A6 D35 TWIN
1 1 0156449001 Clamp
4 1 0215503601 Insulating sleeve
5 1 0156530001 Clamp half
6 2 0212900001 Spacer screw
7 4 0215201209 O-ring 11,3x2,4
8 2 0218400801 Pressure roller arm
9 1 0218810181 Handwheel
10 1 0218810182 Handwheel
11 2 0332408001 Stub shaft
12 1 0218524580 Pressure roller twin
13 2 0153148880 Roller
14 1 0415498001 Thrust roller carrier
15 2 0212902601 Spacer screw a6
16 1 0415499001 Thrust roller carrier
19 2 0219501013 Spring washer d18,1/10,2
28 1 0156531001 Clamp half
30 1 0212 601 110 Nut M10

Related product manuals