EasyManua.ls Logo

ESAB A6 - Page 64

ESAB A6
78 pages
Print Icon
To Next Page IconTo Next Page
To Next Page IconTo Next Page
To Previous Page IconTo Previous Page
To Previous Page IconTo Previous Page
Loading...
- 64 -
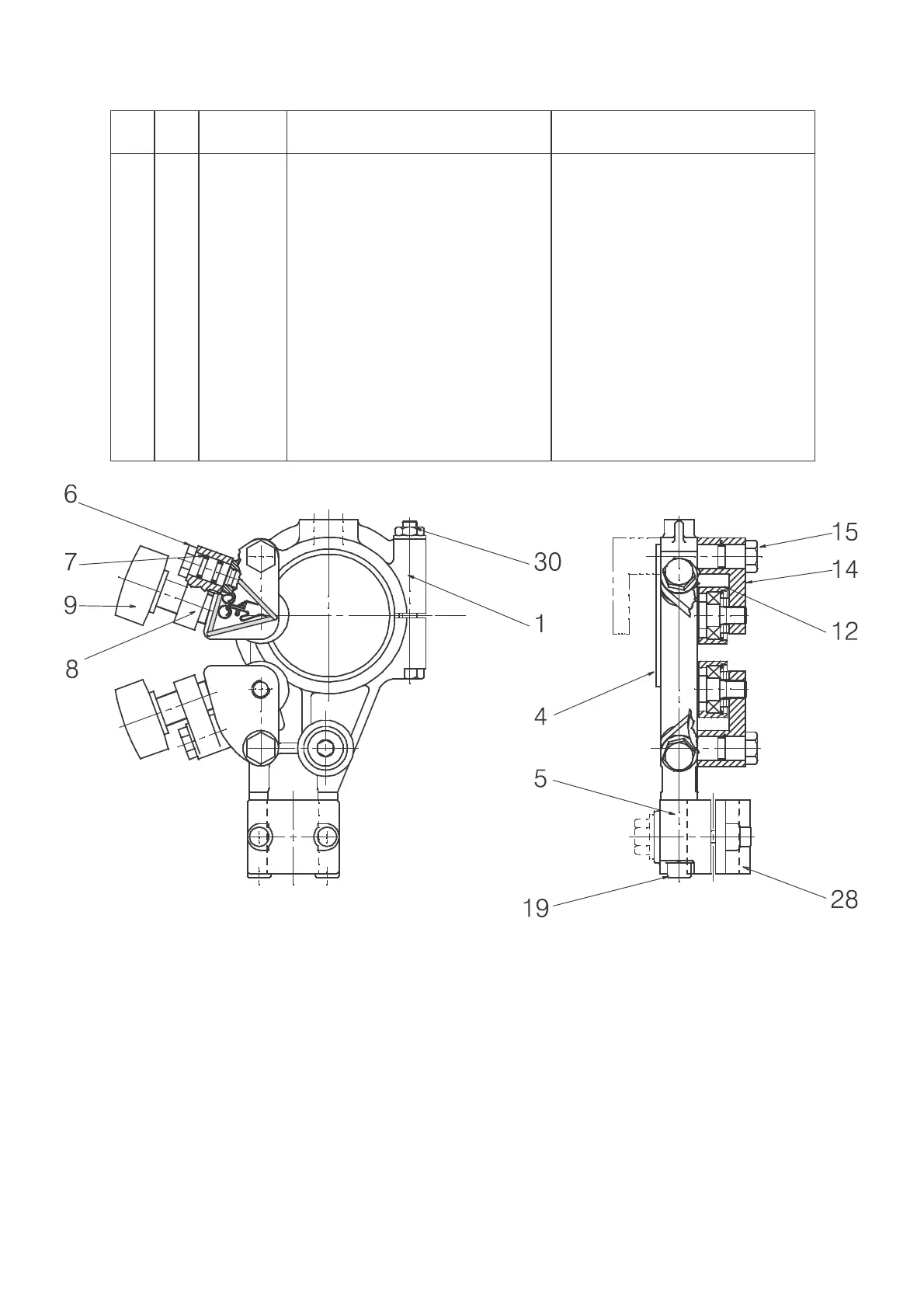
&)*+'
Item
no.
Qty Ordering no. Denomination Notes
0147639891 Wire straightener(right mounted) A6 D35 TWIN (74:1)
1 1 0156449001 Clamp
4 1 0215503601 Insulating sleeve
5 1 0156530001 Clamp half D35
6 1 0212900001 Spacer screw
7 2 0215201209 Sealing, O-ring D11,3x2,4
8 1 0218400801 Pressure roller arm
9 1 0218810181 Handwheel, insulated
12 1 0218524580 Pressure roller twin
14 1 0415498001 Pressure roller, upper
15 1 0212902601 Spacer screw
19 2 0219501013 Spring washer D18,1/10,2
28 1 0156531001 Clamp half
30 1 0212601110 Nut M10

Related product manuals