EasyManua.ls Logo

ESAB LAE1000 - Page 12

ESAB LAE1000
Print Icon
To Next Page IconTo Next Page
To Next Page IconTo Next Page
To Previous Page IconTo Previous Page
To Previous Page IconTo Previous Page
Loading...
-- 1 2 --
dia3d1sa
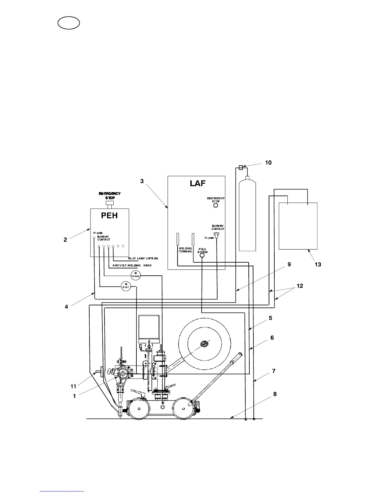
GASMETALLBÅGSVETSNING MIG/MAG
S Anslut manöverkabeln (4) mellan svetsströmkällan (3) och manöverlådan
A2--A6 Process Controller (PEH) (2).
S Anslut återledaren (7) mellan svetsströmkällan (3) och arbetsstycket (8).
S Anslut svetskabeln (6) mella n svetsströmkällan (3) och svetsautomaten (1).
S Anslut gasslangen (9) m ellan reduceringsventilen (10) och svetsautomatens
gasventil (11).
S Anslut slangar för kylvatten (12) mellan kylaggregatet (13) och
svetsautomaten (1).
S Anslut mätledningen (5) mellan svetsströmkällan (3) och arbetsstycket (8).
--
+
in
out
SE

Related product manuals