EasyManua.ls Logo

ESAB LAE1000 - Page 23

ESAB LAE1000
Print Icon
To Next Page IconTo Next Page
To Next Page IconTo Next Page
To Previous Page IconTo Previous Page
To Previous Page IconTo Previous Page
Loading...
-- 2 3 --
dia3d1ea
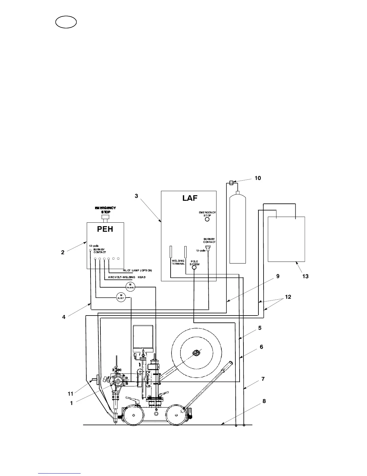
GAS METAL ARC WELDING -- MIG/MAG
S Connect control cable (4) between power source (3) and control box A2 --A6
Process Controller (PEH) (2).
S Connect return cable ( 7) between power source (3) and workpiece (8).
S Connect welding cable (6) between power source (3) and welding m achine
(1).
S Connect gas hose (9) between reducing valve (10) and gas valve (11) on the
welding machine.
S Connect the cooling water hoses (12) between cooling unit (13) and welding
machine (1).
S Connect measuring cable (5) between power source (3) and workpiece (8).
--
+
in
out
GB

Related product manuals