EasyManua.ls Logo

ESAB Multimaster 300 - Page 72

ESAB Multimaster 300
86 pages
Print Icon
To Next Page IconTo Next Page
To Next Page IconTo Next Page
To Previous Page IconTo Previous Page
To Previous Page IconTo Previous Page
Loading...
72
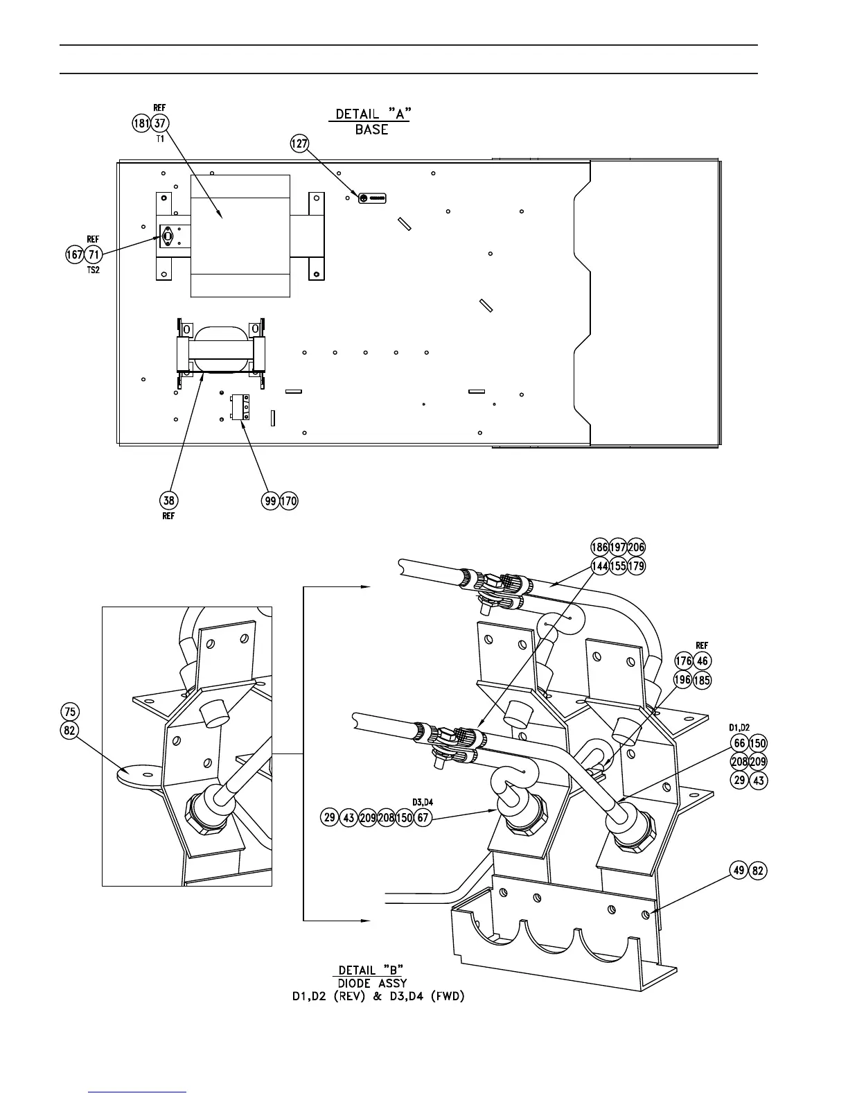
SECTION 6 REPLACEMENT PARTS

Related product manuals