EasyManua.ls Logo

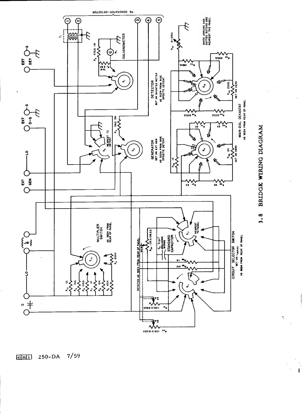
ESI 250-DA - Internal Wiring Diagram of the Impedance Bridge

ESI 250-DA
75 pages
Print Icon
To Next Page IconTo Next Page
To Next Page IconTo Next Page
To Previous Page IconTo Previous Page
To Previous Page IconTo Previous Page
Loading...
tJ0I3313a-H0XVU3N39
Qsi.
BRIDGE
WIRING
DIAGRAM

Related product manuals