EasyManua.ls Logo

Etac Cross - Backrest 3 A Settings and Variations; Back Support Angle Adjustment

Etac Cross
44 pages
Print Icon
To Next Page IconTo Next Page
To Next Page IconTo Next Page
To Previous Page IconTo Previous Page
To Previous Page IconTo Previous Page
Loading...
18
19
8 Settings backrest 3A
1
3
2
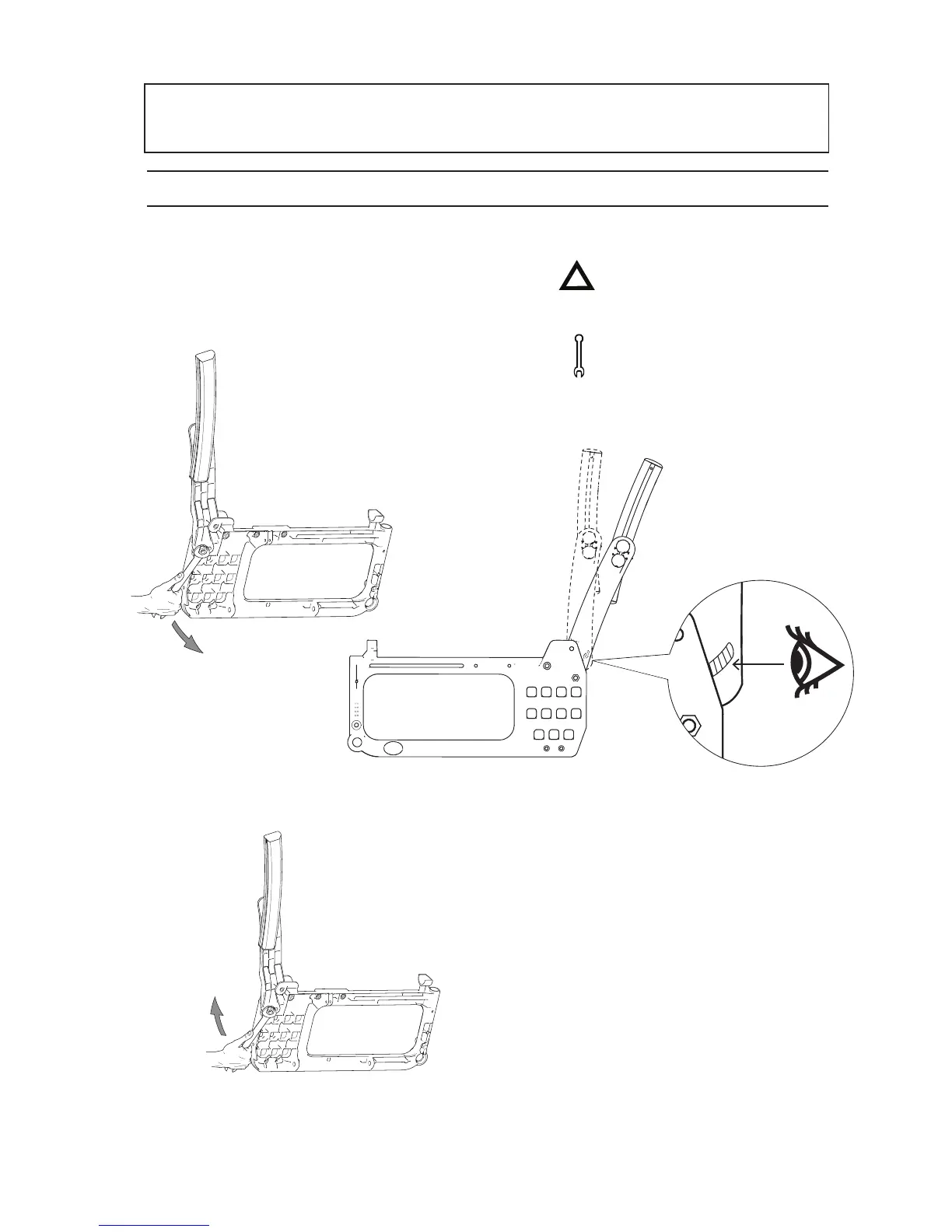
8:1 Adjusting back support angle, mono- bi- and triangular back
1. Loosen the nut.
2. Adjust the back support angle. Use the posi-
tion markings to obtain the same back support
angle on the right and left sides respectively.
3. Tighten the nut.
Risk of tipping: Always
check the positioning of
the anti-tips after adjusting
the backrest upholstery.
Tools: Ring spanner 13 mm.

Other manuals for Etac Cross

Related product manuals