EasyManua.ls Logo

ETATRON D.S. HD-PH - Page 90

Default Icon
Print Icon
To Next Page IconTo Next Page
To Next Page IconTo Next Page
To Previous Page IconTo Previous Page
To Previous Page IconTo Previous Page
Loading...
90
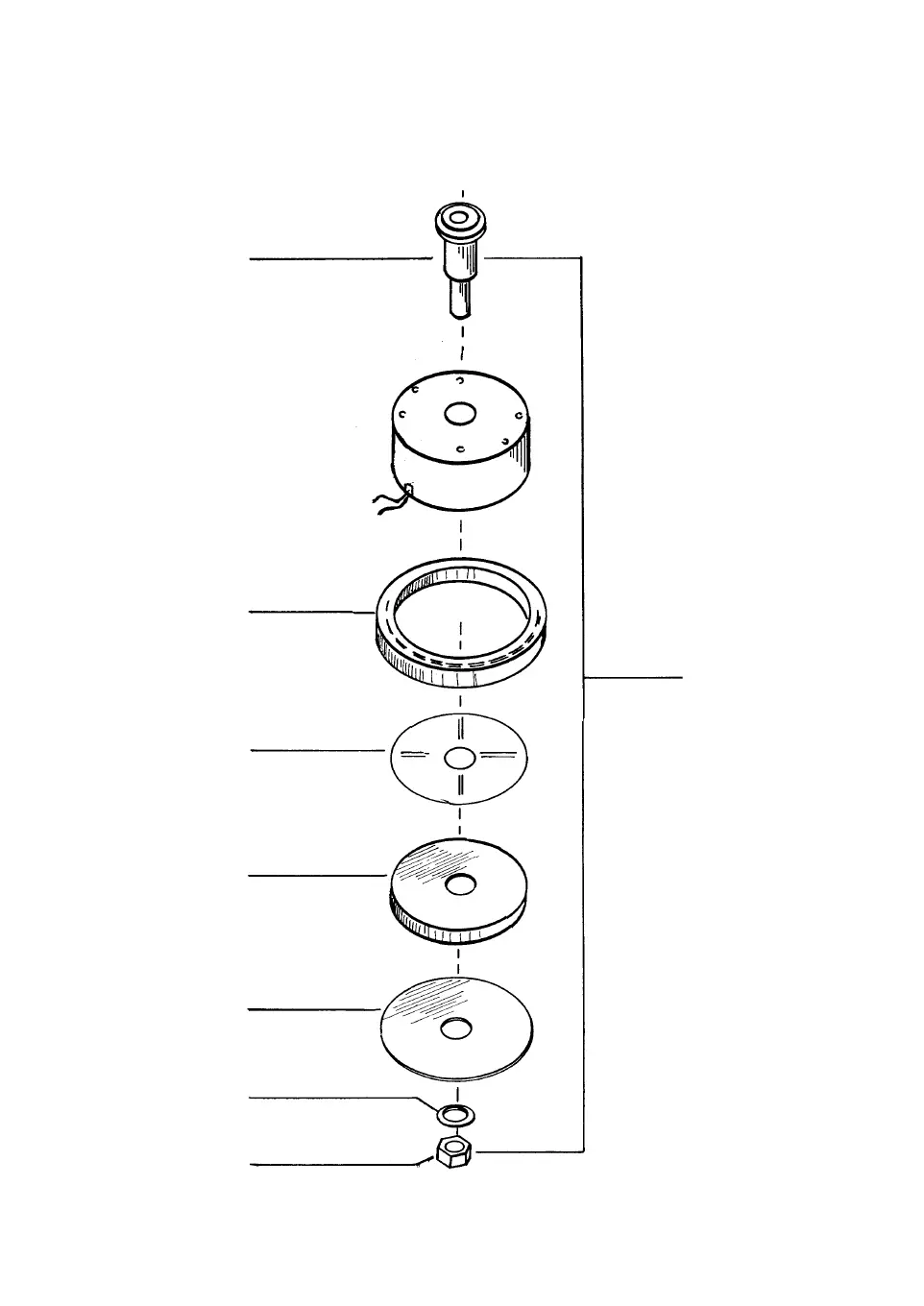
6401
6101
6501
6301
2401
1901
1801
Exx
ELETTROMAGNETE COMPLETO
COMPLETE ELECTROMAGNET

Table of Contents