Home
Evenlite
Lighting Equipment
LiteMinder Modular
Page 9
Evenlite LiteMinder Modular - Page 9
48 pages
Manual
Save Page as PDF
To Next Page
To Next Page
To Previous Page
To Previous Page
Loading...
SIZE 2
4.2K
W
, 5.2KW, 6.25KW, 8.25KW, 10.5KW, 12.5KW Split/Two Phase Models
4.2KW, 5.2KW, 6.25KW, 8.25KW, 10.5KW, 12.5KW Three Phase
Models
LM/LMOPT
SERIES
|
9
8
10
Table of Contents
Main Page
Default Chapter
2
Table of Contents
2
1 Introduction
3
Mechanical Design Features
3
Electrical Design Features
3
Phase Configurations
4
2 Receiving and Storage
5
Inspection
5
Storage
5
3 Installation
6
Location
6
Operating Environment
6
Ventilation
7
Clearance
7
Floor Preparation
7
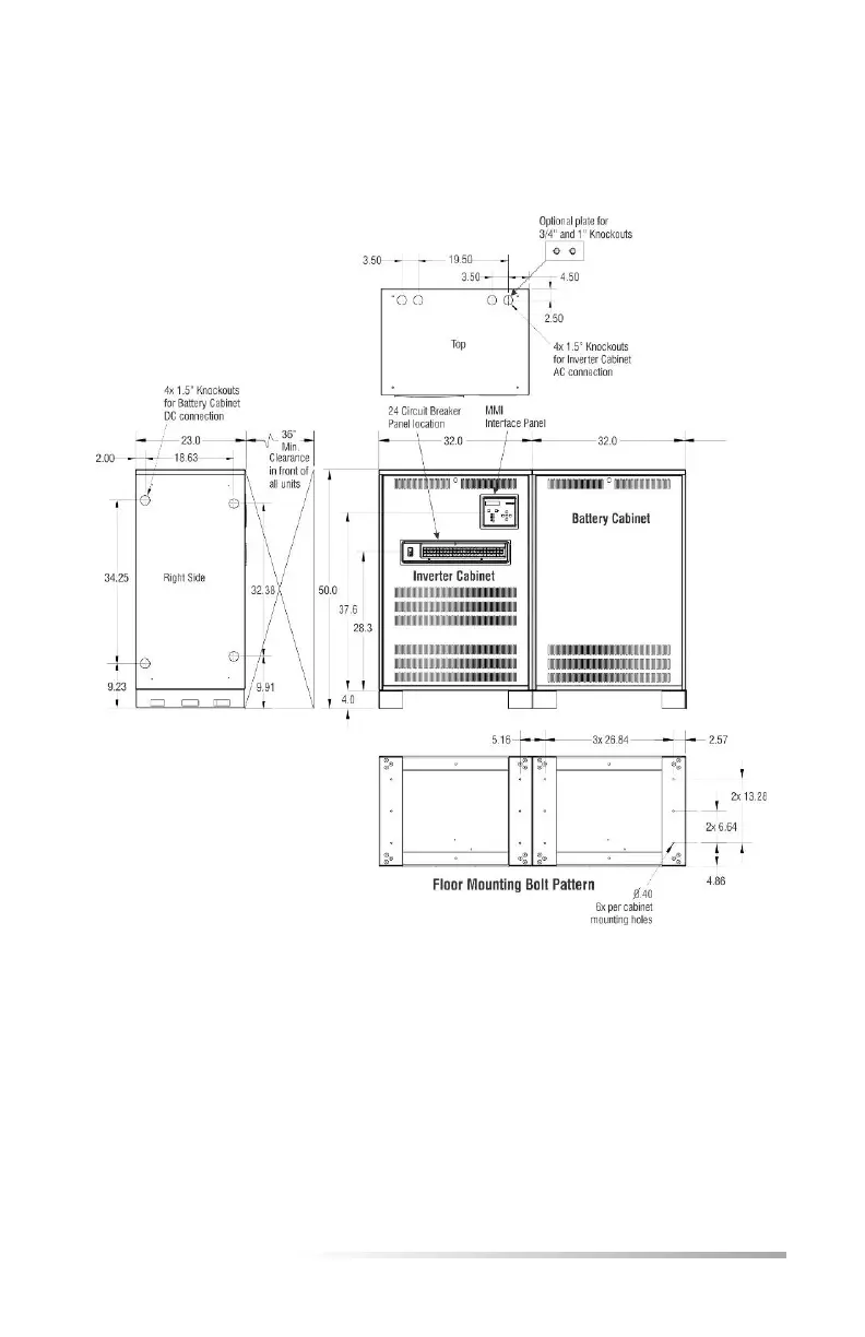
Cabinet Configurations
7
4 AC Connections
13
Removing the AC Breaker Cover
13
Installing the Input Wires
13
Installing the Output Wires
14
Special Options
14
5 Battery and DC Connections
18
Battery Inspection
18
Battery Installation
18
DC Voltage of System
18
6 Startup and Shutdown Procedures
27
7 System Operation
28
Startup Mode
28
Battery Charging Mode
28
Inverter (Battery Discharge) Mode
28
Normally-On Output
28
Normally-Off/ Switched Output
28
8 Specifications
29
9 Warranty
36
Technical Service and Support
36
Return Material Authorization (RMA)
36
10 0 man Machine Interface (MMI)
37
Introduction
37
System Test Button
38
Alarm Silence Button
38
Keypad and Display Features
38
SD Card
38
USB Slot
38
Main Menu
38
Meter Menu
39
Alarm Menu
39
Event Log
39
Test Log
40
Alarm Log
40
User Menu
40
11 Maintenance and Service
43
Battery Maintenance
43
Battery Replacement
44
12 Web Interface
45