EasyManua.ls Logo

Evinrude E6R4 - Trailering the Outboard Motor; Trailering Safety and Positioning Guidelines

Evinrude E6R4
76 pages
Print Icon
To Next Page IconTo Next Page
To Next Page IconTo Next Page
To Previous Page IconTo Previous Page
To Previous Page IconTo Previous Page
Loading...
36
TRAILERING
8
TRAILERING
!
WARNING
When taking outboard motor from
package or removing outboard motor
from the boat, never release the lock
lever. If the lock lever is released, it
will very easy for the clamp bracket
to spring up to the tilting direction
because it is not fixed.
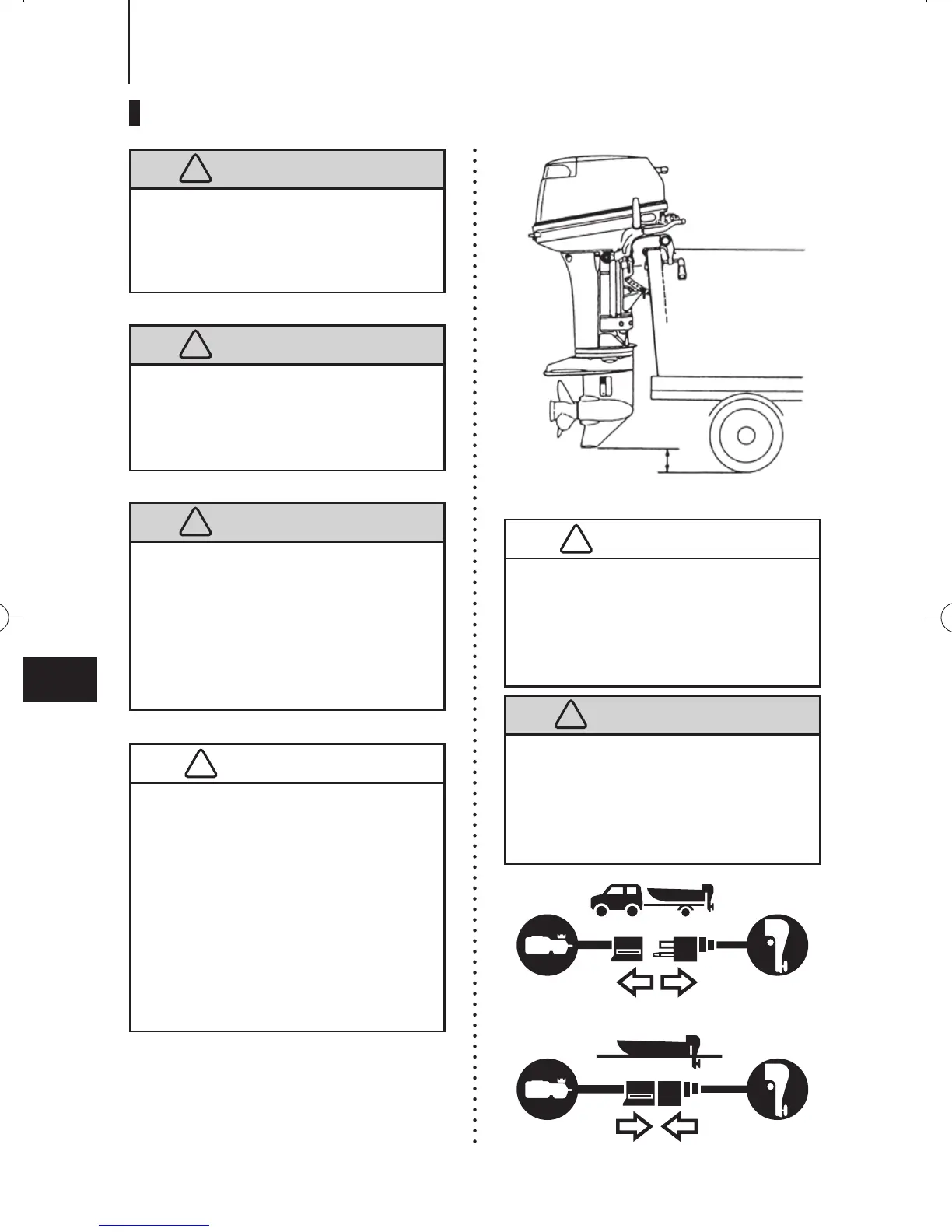
When trailering the outboard motor
should be in a vertical (normal running)
position, fully down. Trailering in the
tilted position may cause damage to the
outboard motor, boat, etc.
If trailering with outboard fully down is
not available (the gear case skeg is too
close to the road in a vertical position),
fix the outboard motor securely using a
device (like a transom saver bar) in the
tilted position.
!
CAUTION
!
WARNING
Do not go under outboard motor tilted
up even if it is supported by support
bar, or accidental fall of outboard motor
could lead to severe personal injury.
!
WARNING
Close air vent screw of fuel tank and
fuel cock before carrying or storing
outboard motor and fuel tank, or fuel
may leak, potentially catching fire.
The tilt support device (Transom
Saver)supplied on your outboard motor
is not intended for towing. It is intended
to support the outboard motor while the
boat is docked, beached, etc.
!
CAUTION
!
WARNING
Please disconnect fuel connector
except when operating engine.
Fuel leakage is a fire or explosion
hazard, which can cause serious injury
or death.
A
A:Ground clearance should
be provided sufciently.
OM_E_4HP_body_111213.indd 36 11/12/13 13:20

Table of Contents

Related product manuals