EasyManua.ls Logo

evoheat 270 - Installation; Pipeline Connection Sketch

evoheat 270
38 pages
Print Icon
To Next Page IconTo Next Page
To Next Page IconTo Next Page
To Previous Page IconTo Previous Page
To Previous Page IconTo Previous Page
Loading...
3.Operation
3 min safety protect
If the unit stops and you re start the unit or turn it on manually, the unit will not start to run
again for approx 3 minutes. This is a protection feature to safe guard the compressor.
In low ambient conditions the heating output decreases. See page __ for further
information.
Heating capacity
In order to use the unit correctly, please run the unit at environment temperature -7-43.
The unit includes sophisticated electronic devices, prohibited to use water from lake, untreated
river water and groundwater!
Working conditions
Defrosting
In heating mode the unit will defrost automatically, maximizing the heating efficiency (Lasting 2 -
10 minutes).
The fan motor will stop running whilst the unit is defrosting.
Overheating protection
When the water temperature reaches 75deg C, the power of the unit will be cut and must be
manually reset. See page __ for more information.
Water pressure protectiontemperature or
A P&T valve MUST be installed in the tank. When the tank pressure reaches 0.85MPa or
when the tank temperature reaches 93deg C, the P&T valve will open automatically so as
to reduce the pressure or temperature decrease.
8
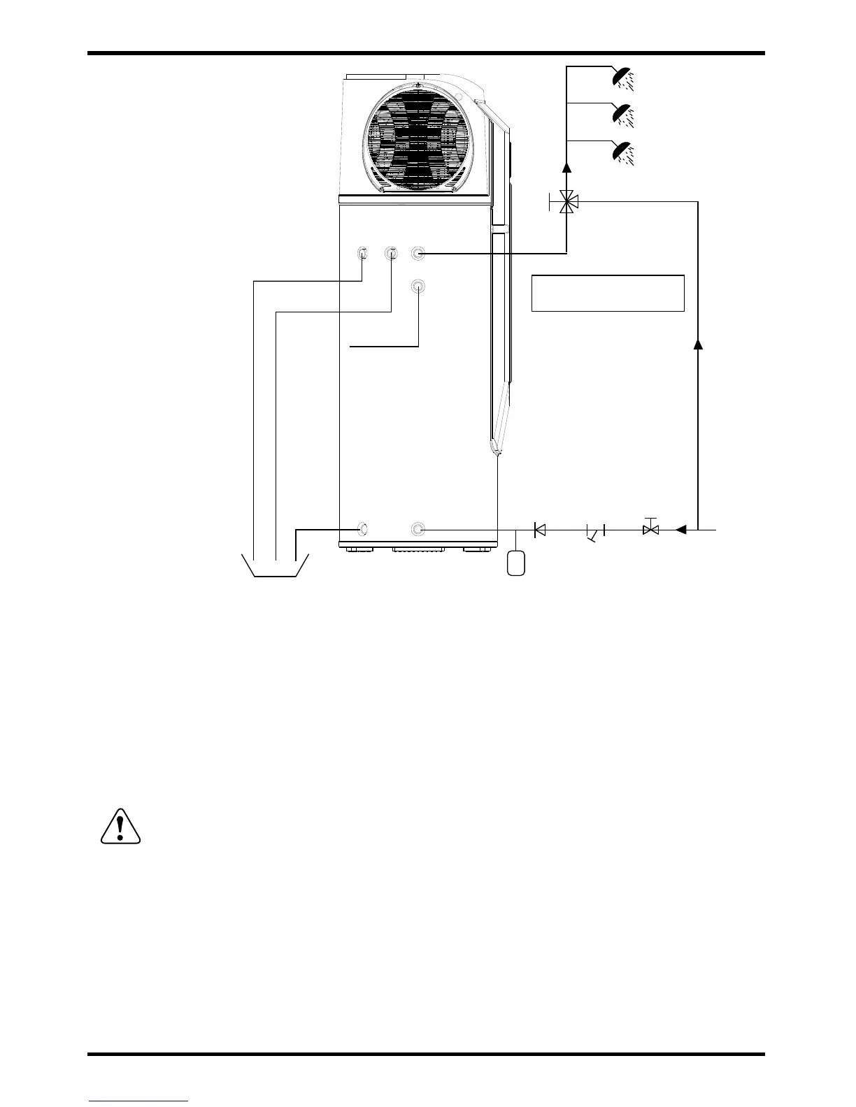
4.1 Pipeline connection sketch
4. Installation
Picture 4
ATTENTION
Pipeline connection explanation
Installation of the water inlet or outlet pipes: The specification of the water inlet and
outlet thread is BSP3/4(internal thread).Pipes must be heat-resistant and durable.
Installation of the pipe for P&T valve: The spec of the valve connecting thread is
BSP3/4(internal thread).After installation, please confirm that the plumbing outlet is
exposed to the air. When flexible plumbing is connected to the pressure relief
outlet of this valve, please confirm that the plumbing is vertical and exposed to the
air.
Water Inlet
Y-shaped Filter
Tap Water
Thermal expansion tank
(if required)
Barrel-drain
Drainpipe
Condensate Outlet
P&T Valve
Water Outlet
Notice:
Tempering valve required
Magnesium
Anode
ATTENTION: The P&T valve attached to the unit MUST be installed, or it will cause
damage to the unit and pose a serious risk to passersby.
Installation MUST comply with AS/NZS3500.4 and all other relevant Australian
Standards and Industry Codes.
Do not use stainless steel fittings to connect directly with other metals to prevent
galvanic corrosion.
If installed outdoors all fittings and insulation must be weather resistant
.
7
Sanitech high temp sanitization
The Evoheat 270 is fitted with Sanitech. the Sanitech system will heat the tank water to 70
degrees for one 30min period every week at midnight. Please be aware of very high
temperature water outlet at this time.

Related product manuals