EasyManua.ls Logo

evoheat 270 - Page 22

evoheat 270
38 pages
Print Icon
To Next Page IconTo Next Page
To Next Page IconTo Next Page
To Previous Page IconTo Previous Page
To Previous Page IconTo Previous Page
Loading...
5. Operation
20
5.7 Timer setting
5.7.1 In the heating mode, two running periods can be set.
Press " " and hold for 2s to enter into the timer setting interface.
Running period 1: The symbol "ON 1" on the right side of the interface and the time
parameter flash at this time. Press " " again and the hour parameter flashes. Set the time
and confirm. Then "OFF 1" and the time parameter flash. Set the time following the previous
steps.
Running period 2: After Running period 1 is set, the controller will enter into the Running
period 2 setting interface. Set the start-up and shut-down time in the same way as Running
period 1.
Press " " to cancel any modifications during the setting.
Press " " and hold for 2s twice to set the "OFF 1" time directly or press " " " " when
the unit is already running.
Press " " cancel the setting when the hour parameter is flashing.
Heating mode
Outlet water temperature
Time
ON 1
Press and
hold for 2s.
OFF 1
Press " " and hold for 2s to enter
into the next setting without confirm
the previous one.
ON 2
Press " "
and hold for
2s to enter
into the next
setting without
confirming the
previous one.
P
r
e
ss
"
"
to
ca
nce
l
t
he
s
e
t
t
i
ng
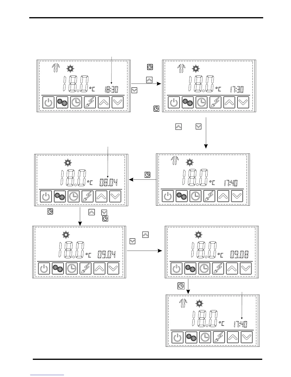
5. Operation
19
The new set time
Press " " to confirm.
The date is flashing
Press once then press or to change
the month parameter and press to confirm.
Press " " or
" " to change
the dayparameter.
Press" "
to confirm.
Time
Press
twice then
press or
to change
the hour
parameter
and press
to confirm.
Press " " or " " to change the minute
parameter.
Example: Change the time and date from 18:30 on August 4th to 17:40 on September 8th.

Related product manuals