EasyManua.ls Logo

EWM KLE - Right Side

EWM KLE
28 pages
Print Icon
To Next Page IconTo Next Page
To Next Page IconTo Next Page
To Previous Page IconTo Previous Page
To Previous Page IconTo Previous Page
Loading...
Machine description quick overview
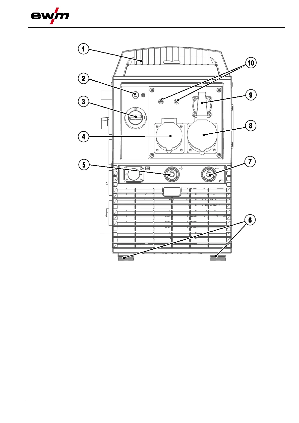
Right side
099-008060-EW501
19.02.2013
17
5.4 Right side
Figure 5-3