EasyManua.ls Logo

Exmark VIKING HYDRO - Page 38

Exmark VIKING HYDRO
48 pages
Print Icon
To Next Page IconTo Next Page
To Next Page IconTo Next Page
To Previous Page IconTo Previous Page
To Previous Page IconTo Previous Page
Loading...
- 33 -
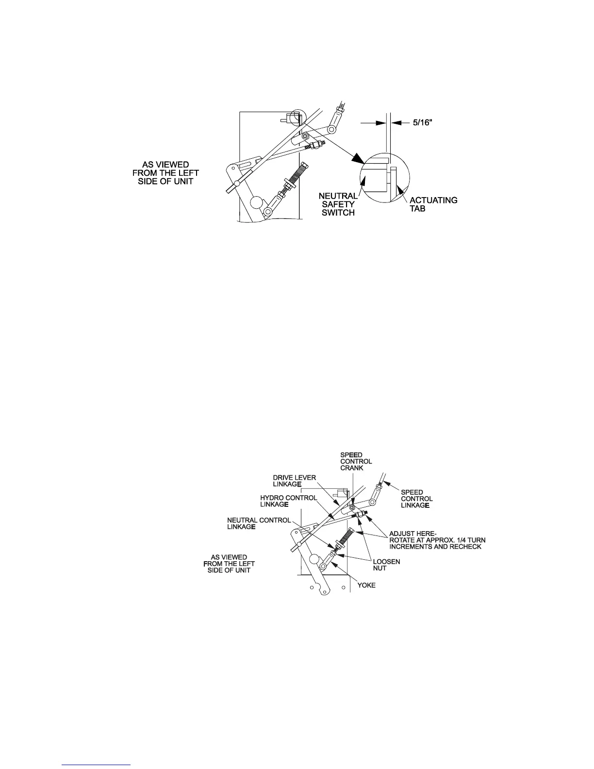
3. Pull the speed control lever back to neutral. Check that the neutral
safety switch actuating tab has depressed the plunger of the switch so
that there is about 5/16” (.79 cm) between the tab and the switch.
See Figure 18. If necessary, move the switch fore and aft.
FIGURE 18
NEUTRAL SAFETY SWITCH ADJUSTMENT
b) Adjust Neutral Control Linkages
1. Raise the rear of the machine up onto jack stands high enough to
raise the drive wheels off of the ground.
2. Start the engine and move the throttle ahead to the full throttle position.
Place the neutral lock latches in the “drive” position as shown in Figure
9. Release the park brake and move the speed control lever to the
“mid-speed” position.
Note: The OPC levers must be held down and the park brake must be
disengaged whenever the speed control lever is moved out of neutral
or the engine will kill.
3. Squeeze the respective drive lever until an increased resistance is
felt, this is where neutral should be.
If the wheel turns while holding the drive lever in neutral, the neutral
control linkages need to be adjusted. If wheel stop then go to step 7.
FIGURE 19
HYDRO DRIVE LINKAGE ADJUSTMENT
4. Loosen the nut against the neutral control linkage yoke as shown in
Figure 19.
(.79 cm)

Other manuals for Exmark VIKING HYDRO

Related product manuals