EasyManua.ls Logo

Exmark VIKING HYDRO - HYDRAULIC DIAGRAM

Exmark VIKING HYDRO
48 pages
Print Icon
To Next Page IconTo Next Page
To Next Page IconTo Next Page
To Previous Page IconTo Previous Page
To Previous Page IconTo Previous Page
Loading...
- 39 -
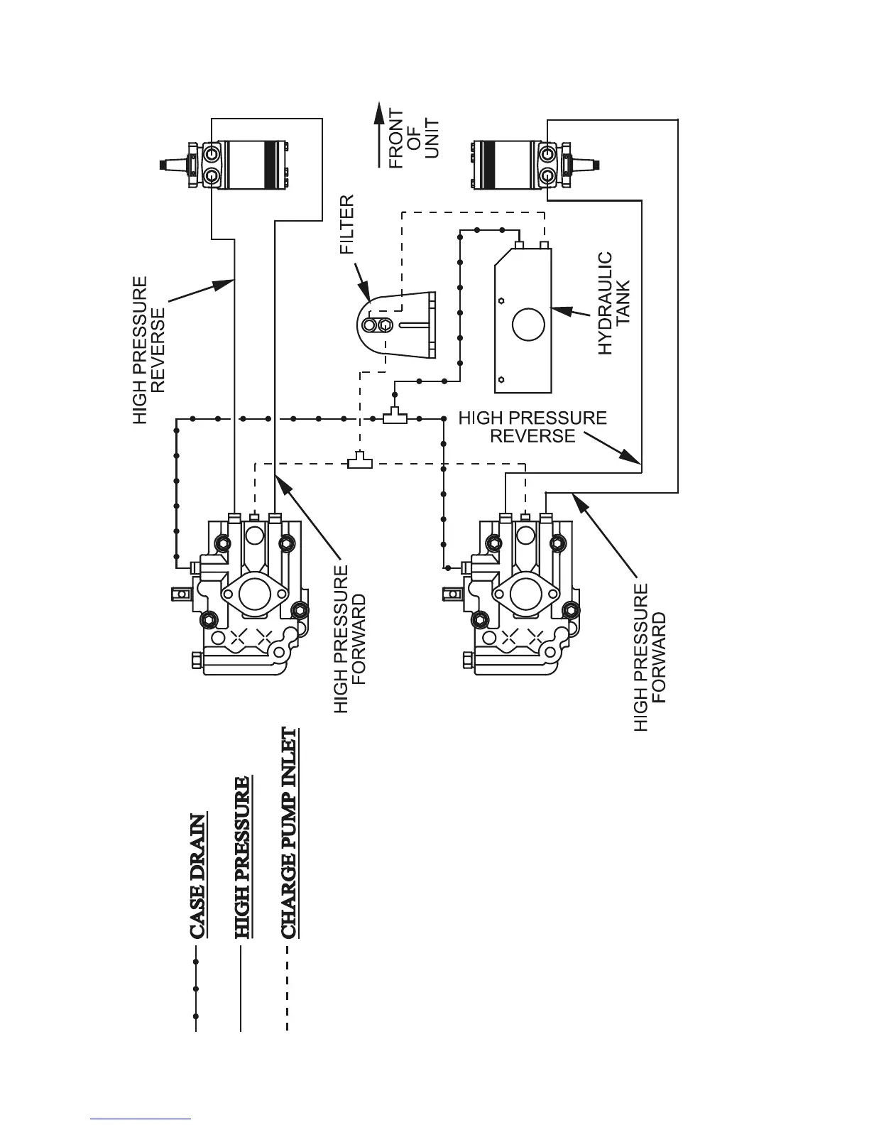
10. HYDRAULIC DIAGRAM

Other manuals for Exmark VIKING HYDRO

Related product manuals