EasyManua.ls Logo

Facnor LS PLUS - 1 Plan Densemble; 2 Inventaire des Colis

Facnor LS PLUS
Print Icon
To Next Page IconTo Next Page
To Next Page IconTo Next Page
To Previous Page IconTo Previous Page
To Previous Page IconTo Previous Page
Loading...
Facnor - notice de montage rev 2012 - enrouleurs de génois LS+ / LX+ / RX+
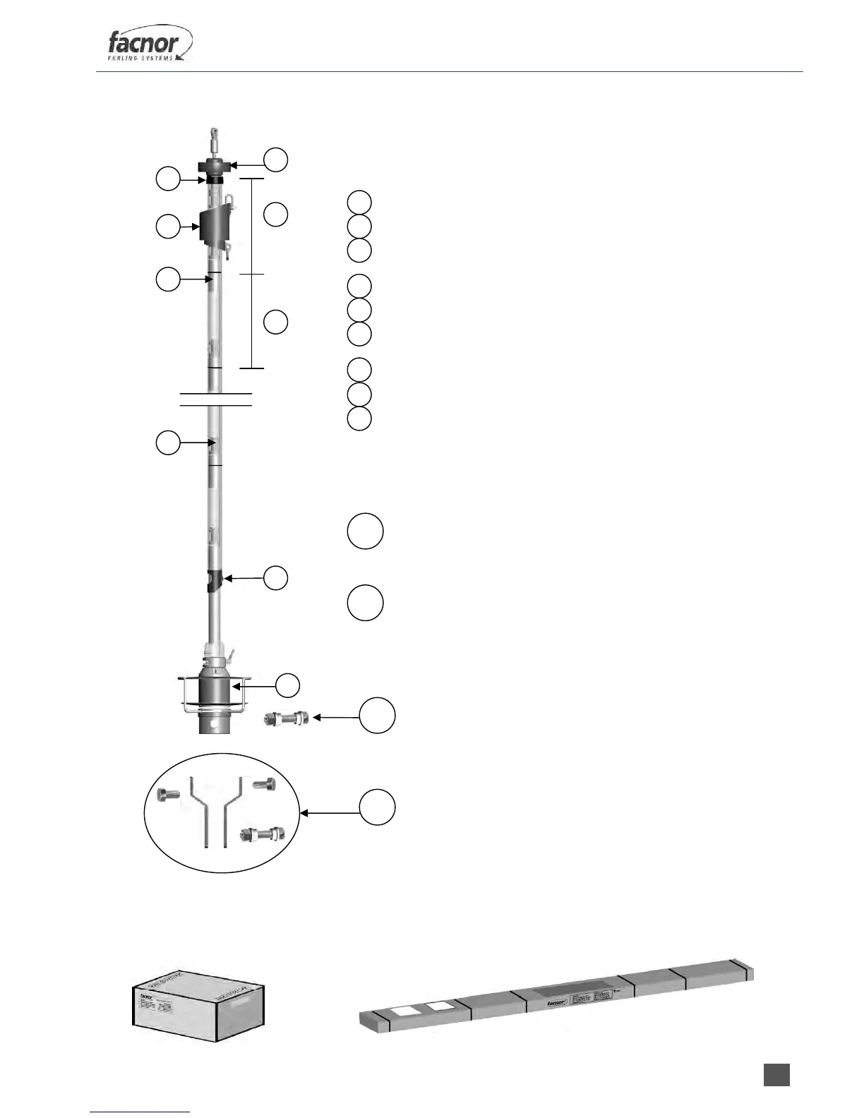
1- PLAN D’ENSEMBLE
rondelle déflecteur de drisse
bouchon de profil
profil haut
curseur émerillon
profil standard de 2 mètres
manchon
palier noir (formé de 2 demi paliers)
entrée de voile
tambour
Fixation basse du tambour : 2 montages possibles (cf p.10)
axe avec bagues nylon + écrou
ou
kit ridoir (lattes inox cintrées, en option cf p.4)
2- INVENTAIRE DES COLIS
Le kit enrouleur de génois Facnor est composé de 2 colis :
3
3
7
9
6
2
1
1
2
3
4
5
6
7
8
9
4
5
10
11
10
11
8
+
français

Table of Contents

Related product manuals