EasyManua.ls Logo

Facom 714A - Procédure de Mesure

Facom 714A
Print Icon
To Next Page IconTo Next Page
To Next Page IconTo Next Page
To Previous Page IconTo Previous Page
To Previous Page IconTo Previous Page
Loading...
13
Note:
1. La tension d'ente doit être comprise entre 3 V crête et 50 V crête. Si la tension
est trop basse, la mesure est impossible à réaliser.
2. La stabilité de la valeur décrt si la vitesse de rotation du moteur est trop basse.
3. La polarité de la tension d'ente doit être correcte car si ce n'est pas le cas, la
mesure est impossible à réaliser.
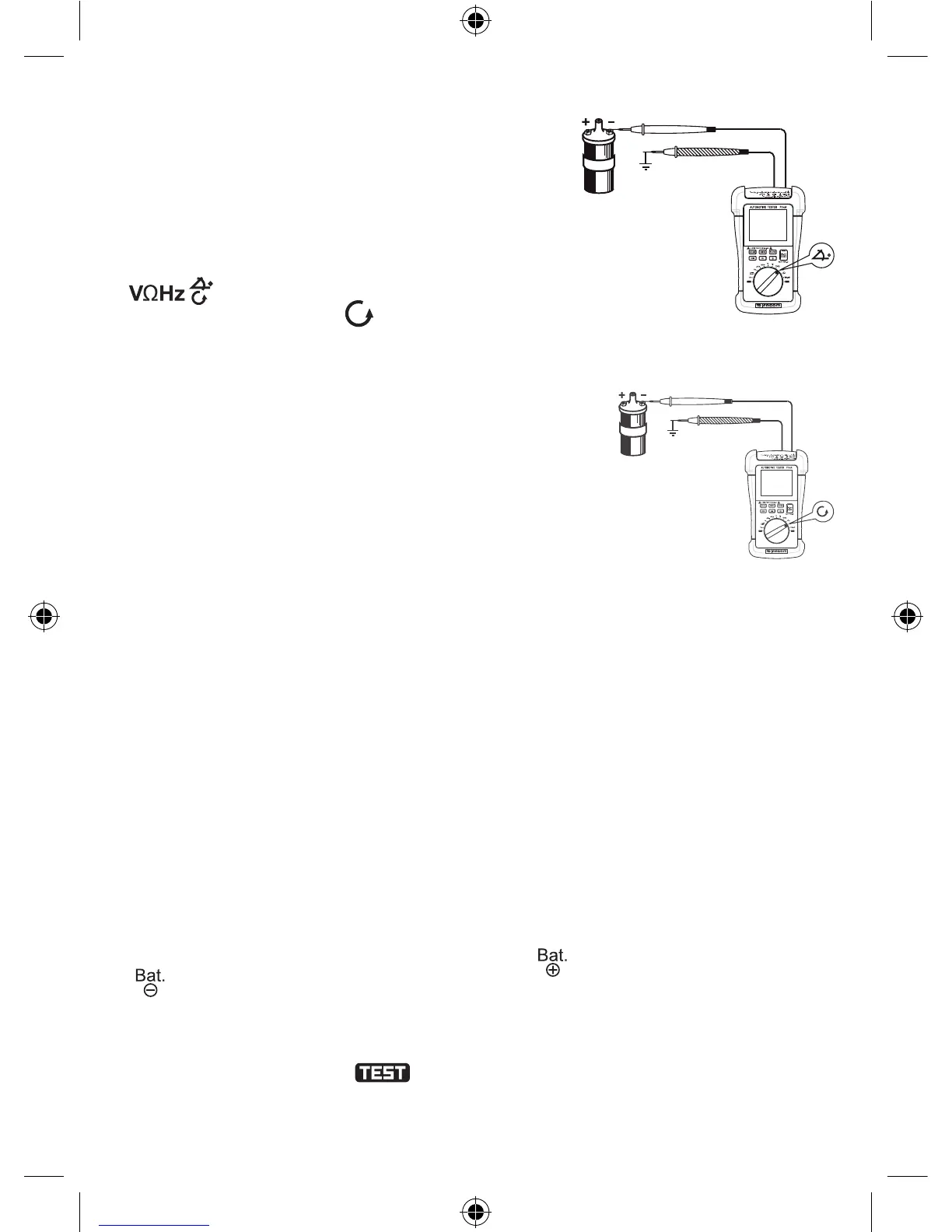
Mesure tachymétrique du moteur (vitesse de rotation, figure 7)
1. Connectez le fil de test noir sur la borne
"COM"
et le fil de test rouge sur la borne
" ". (Note : La polarité du fil de test rouge est positive
"+"
).
2. Positionnez le sélecteur de gamme sur .
3. Appuyez sur la touche
"SELECT"
jusqu'àapparitiondunombredecylindresdu
moteur à tester.
4. Connectez le fil de test noir à la masse ou la borne négative de la batterie et le fil de
test rouge à la borne basse tension de l'allumeur ou à la borne négative de la bobine
d'allumage.
5. marrez le moteur, la valeur s'affiche à lcran.
Note :
1. La tension d'entrée doit être comprise entre 3 V crête et 50 V crête. Si la tension est
trop basse, la mesure est impossible à réaliser.
2. La gamme de mesure de l'appareil est comprise entre 250 tr/min et 40000 tr/min. Si
la vitesse de rotation du moteur est en dehors de cette gamme, la mesure sera incorrecte.
Pour conntre une vitesse de rotation en dehors de cette gamme, vous pouvez mesurer
la fréquence d'allumage puis déterminer la vitesse de rotation en appliquant la formule
suivante :
N = 120 F/C
N
est la vitesse de rotation (unité : tr/min),
F
est la fréquence d'allumage (unité : Hz),
C
est le nombre de cylindres.
3. La polarité de la tension d'entrée doit être correcte car si ce n'est pas le cas, la mesure est impossible à réaliser.
Mesure de la résistance interne de la batterie du véhicule
Note:
Utilisez exclusivement la méthode de mesure à 4 fils pour réaliser cette mesure. Assurez-vous que les connexions sont correctes.
Avertissement :
1. Afin de ne pas endommager l'appareil, ne l'utilisez pas pour mesurer la résistance interne de la batterie d'un véhicule si la tension
de la batterie est supérieure à 36 V.
2. Afin de ne pas endommager la batterie, ne mettez pas les bornes de la batterie en court-circuit lors de la connexion.
3. Afin dviter des erreurs de mesure provoqes par les fils de test, assurez-vous que la résistance de chaque fil de test (avec pince)
est inférieure à 50 Ω. (Une seule pince pour deux fils de test)
4. Avant de réaliser la mesure, vérifiez le fusible de l'appareil.
Procédure de mesure :
1. Positionnez le sélecteur de gamme sur
Bat. mΩ.
2. Voir Figure 8, introduisez les deux fils de test rouges dans les deux bornes " " et les deux fils de test noirs dans les deux bornes
" ".
3. Retirez la couche d'oxydation de la surface des bornes de la batterie.
Appliquez la pince rouge sur la borne positive de la batterie et la pince noire sur la borne négative (Figure 8).
Note :
Pour obtenir une mesure pcise, les mâchoires des pinces ne doivent pas entrer en contact direct (Figure 8).
4. Appuyez sur la touche
"TEST" :
l'ine""s'afficheàl'écranindiquantquelamesurederésistanceinterneestencours.
La valeur s'affiche à l'écran.
Si la résistance interne est supérieure à 4000 mΩ, l'avertisseur sonore retentit.
figure 6
Bobine d'allumage
Masse
figure 7
Bobine d'allumage
Masse

Table of Contents