EasyManua.ls Logo

FARFISA INTERCOMS Mody Series - Page 42

Default Icon
50 pages
Print Icon
To Next Page IconTo Next Page
To Next Page IconTo Next Page
To Previous Page IconTo Previous Page
To Previous Page IconTo Previous Page
Loading...
40
8 GbD-02
P3
6
P2
P1
7
5
3
2
1
P2
P3
6
P1
7
5
3
2
1
P1
P3
P2
6
7
5
3
2
1
CT4
+SP
CT3
+SP
CT2
+SP
CT1
+SP
x2
x3
6
P3
P2
P1
7
5
3
2
1
3
2
1
xn
6
P1
7
5
3
2
1
P1
6
7
5
3
2
1
CT2
CT1
x2
1
6
P2
P1
7
5
3
2
1
P2
6
P1
7
5
3
2
1
P1
P2
6
7
5
3
2
1
CT3
+SP
CT2
+SP
CT1
+SP
x2
xn
2
1
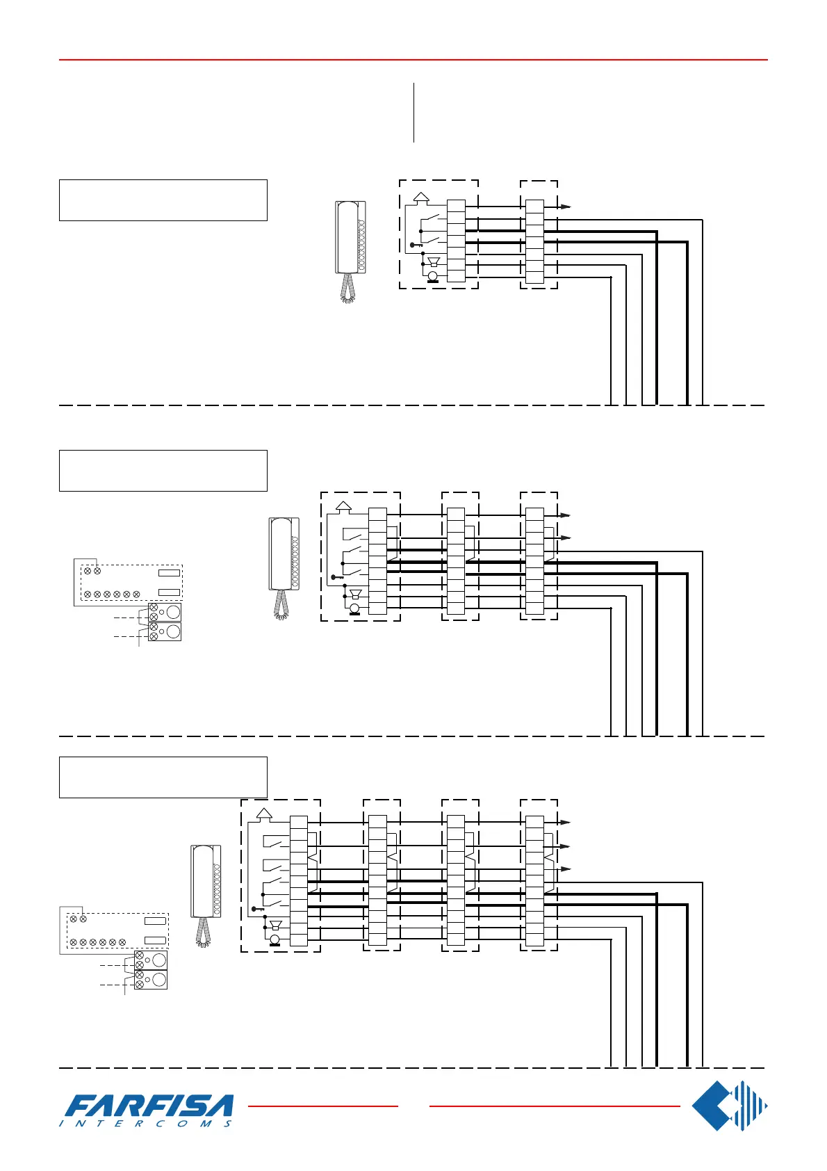
WORKING DIAGRAMS FOR INTERCOMMUNICATING SYS-
TEMS WITH A DOOR STATION AND INDIVIDUAL CALL.
Combine with the system Si 210/5.
2 intercommunicating intercoms
2 Gegensprechhaustelefone
ANWENDUNGSSCHALTPLÄNE FÜR MEHRFAMlLIENHAUS
GEGENSPRECHANLAGEN MIT TÜRSTATION.
Kombinierbar mit dem Schaltplan Si 210/5.
4 intercommunicating intercoms
4 Gegensprechhaustelefone
3 intercommunicating intercoms
3 Gegensprechhaustelefone
Connect one of the two terminals of the single button unit
to terminal 7.
Eine Anschlußklemme der Zusatztasten muß mit der
Klemme 7 verbunden werden.
Connect one of the two terminals of the single button unit
to terminal 7.
Eine Anschlußklemme der Zusatztasten muß mit der Klem-
me 7 verbunden werden.
9 7
2315P16
P2
P3
9 7
2315P16
P2
P3

Related product manuals