EasyManua.ls Logo

Fermax iloft - Video Entry System Operation

Fermax iloft
Print Icon
To Next Page IconTo Next Page
To Next Page IconTo Next Page
To Previous Page IconTo Previous Page
To Previous Page IconTo Previous Page
Loading...
Pag 35
Kit Halo & iLoftKit Halo & iLoft
Kit Halo & iLoftKit Halo & iLoft
Kit Halo & iLoft
Kit Halo & iLoftKit Halo & iLoft
Kit Halo & iLoftKit Halo & iLoft
Kit Halo & iLoft
OPERATION - Video Entry System
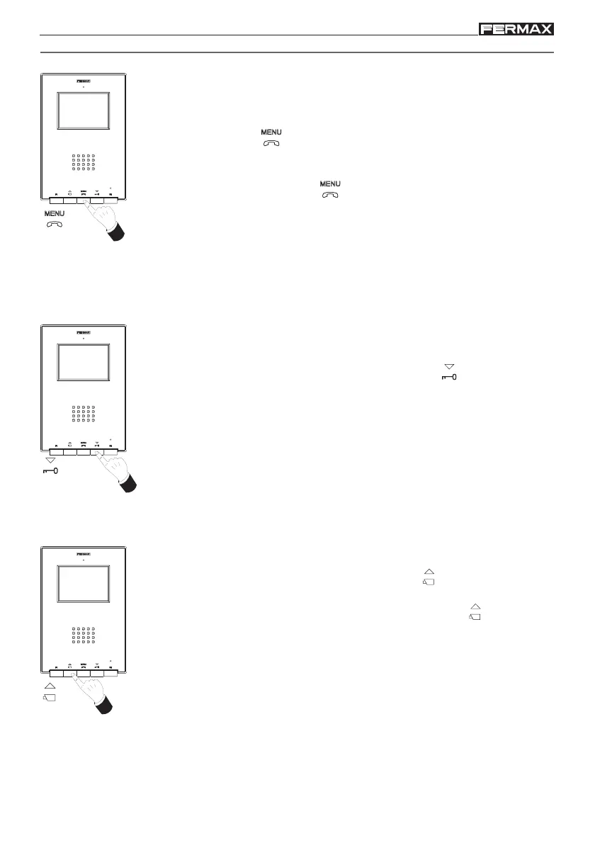
Answering a call
When the call button on the Street Panel is pressed a call tone is emitted
both at the panel and on the monitor, and the screen goes on.
Press the button
to speak with the visitor. The audio channel between
the street and the home will be opened; operation is in hands-free mode.
The communication will automatically end after 90 seconds, or at any
time by pressing the button . The LED will remain on (blue) while the
conversation lasts.
If communication is not established with the street panel, the monitor will
automatically go off after 30 seconds.
Manual Activation of the Monitor (Auto-start)
With the monitor on standby, press this button
for 1 second to switch
the monitor on manually. To sequentially select between the main camera
and the secondary camera (if there is one), hold the button
for 2 seconds.
To activate the audio and speak to the visitor or open the door, carry out the
steps described above.
If communication is not established with the street panel, the monitor will
automatically go off after 30 seconds.
Opening the door
When a call is received from the street panel, it is possible to open
the door at any time, by pressing the button
NOTE: If there is more than one iLoft monitor in the system and a call is made to a
monitor, the rest of the monitors will show a blue led warning that the channel is busy.

Other manuals for Fermax iloft

Related product manuals