EasyManua.ls Logo

Ferno POWERFlexx - Positioning the Safety Hook; Installing the Safety Hook

Ferno POWERFlexx
44 pages
Print Icon
To Next Page IconTo Next Page
To Next Page IconTo Next Page
To Previous Page IconTo Previous Page
To Previous Page IconTo Previous Page
Loading...
12 © Ferno-Washington, Inc. 234-3310-01 May 2005
POWERFlexx
Setup and Installation
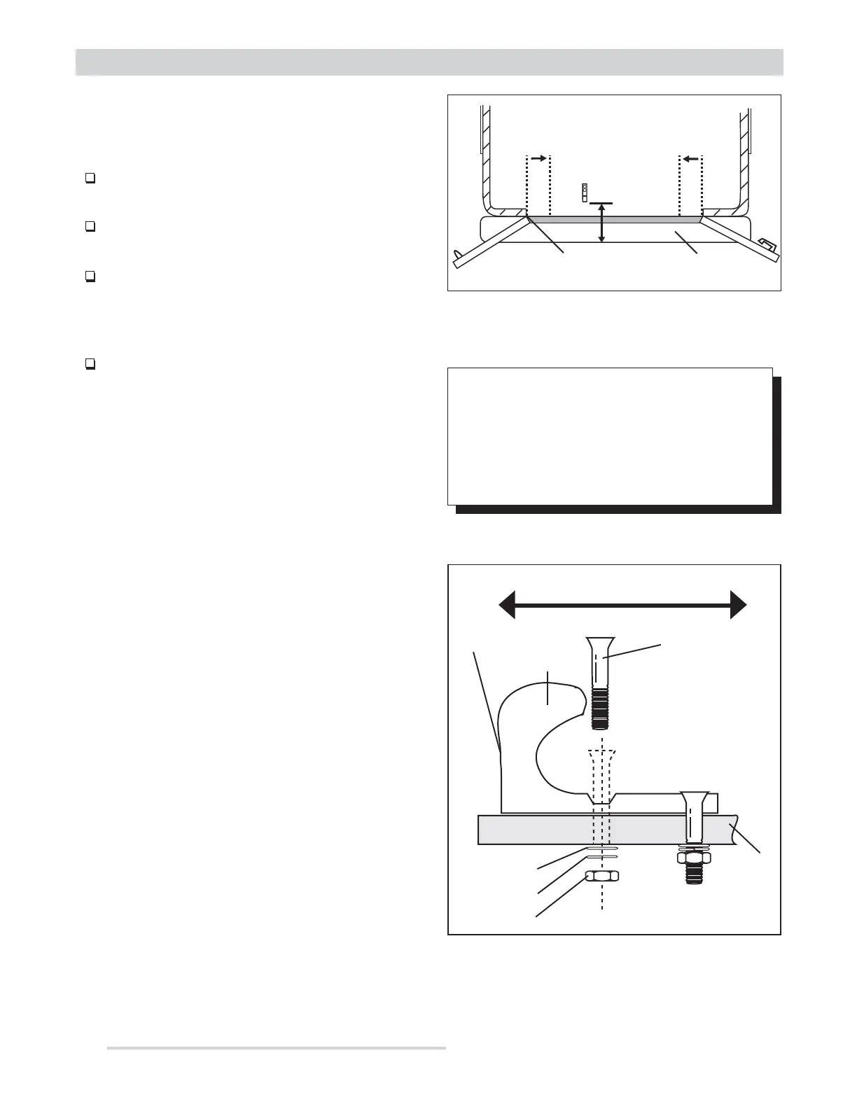
POSITIONING THE SAFETY HOOK
Position the safety hook as close to the rear of the
ambulance as possible, within the limits below:
The bumper or extended folding bumper must not
exceed 14 inches (36 cm).
Position the safety hook with the hook facing the
front of the ambulance.
Position the safety hook at least 11 inches away
from the door frame (Figure 3) so the cot safety
bar will engage the safety hook when the cot is
loaded or unloaded.
Position the safety hook no more than
17-3/4" (45 cm) from the rear edge of the hook to
the rear of the ambulance, including the bumper
and folding bumper step in the extended (open)
position.
INSTALLING THE SAFETY HOOK
1. Mark the position of the safety hook on the floor.
2. Drill holes through the floor for the flat-head
machine screws.
3. Attach the safety hook to the floor (Figure 4).
4. Test the hook by loading and unloading the cot.
Verify that there is no interference with folding
or unfolding the legs.
Ambulance Overhead View
11" min.
11" min.
Door Frame
Extended
Bumper Step
Safety Hook
Rear Edge
17-3/4" max.
Figure 3 - Safety Hook Placement
Important
If the safety hook is installed too far inside the
ambulance, you will not be able to properly fold
or unfold the cot undercarriage when it is
secured by the hook. Measure and install the
safety hook as instructed in this manual.
Figure 4 - Installing the Safety Hook
Flat-Head
Machine Screw
Floor
Nut
Lock Washer
Flat Washer
Ambulance Front
Ambulance Rear
Hook
Rear Edge

Table of Contents

Related product manuals