EasyManua.ls Logo

Fimer TP 35K - Page 14

Fimer TP 35K
Print Icon
To Next Page IconTo Next Page
To Next Page IconTo Next Page
To Previous Page IconTo Previous Page
To Previous Page IconTo Previous Page
Loading...
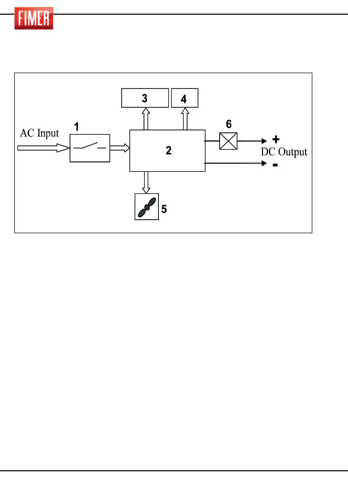
10
1. Interruttore
2. Scheda controllo potenza
3. Compressore
4. Scheda comandi
5. Ventilatore
5. Sensore di corrente
(montato a bordo del blocco 2)
11.SCHEMA BLOCCHI

Related product manuals