EasyManua.ls Logo

Fimer TP 35K - Page 50

Fimer TP 35K
Print Icon
To Next Page IconTo Next Page
To Next Page IconTo Next Page
To Previous Page IconTo Previous Page
To Previous Page IconTo Previous Page
Loading...
10
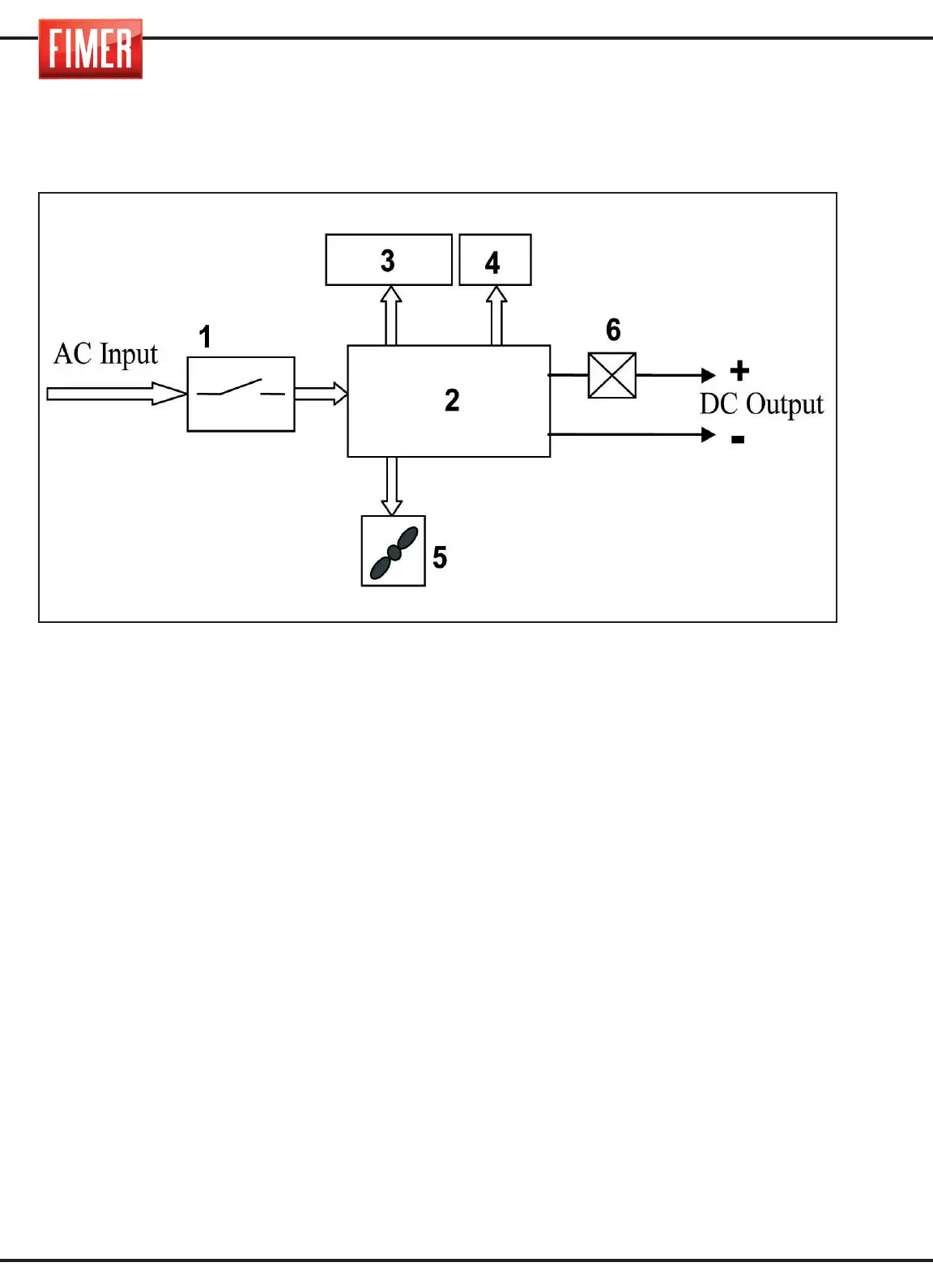
1. Interrupteur d’entrée
2. Carte de puissance et contrôle
3. Compresseur
4. Carte de commande
5. Ventilateur
6. Capteur de courant
(monté sur le module 2)
11. DIAGRAMME FONCTIONNEL

Related product manuals