EasyManua.ls Logo

Fischer Panda 12000 - Types of Coil; HP1 - 230 V; 50 Hz; HP2 - 120 V; 60 Hz

Fischer Panda 12000
250 pages
Print Icon
To Next Page IconTo Next Page
To Next Page IconTo Next Page
To Previous Page IconTo Previous Page
To Previous Page IconTo Previous Page
Loading...
Tables
18.12.15 Kapitel/Chapter 9: Tables - Seite/Page 203
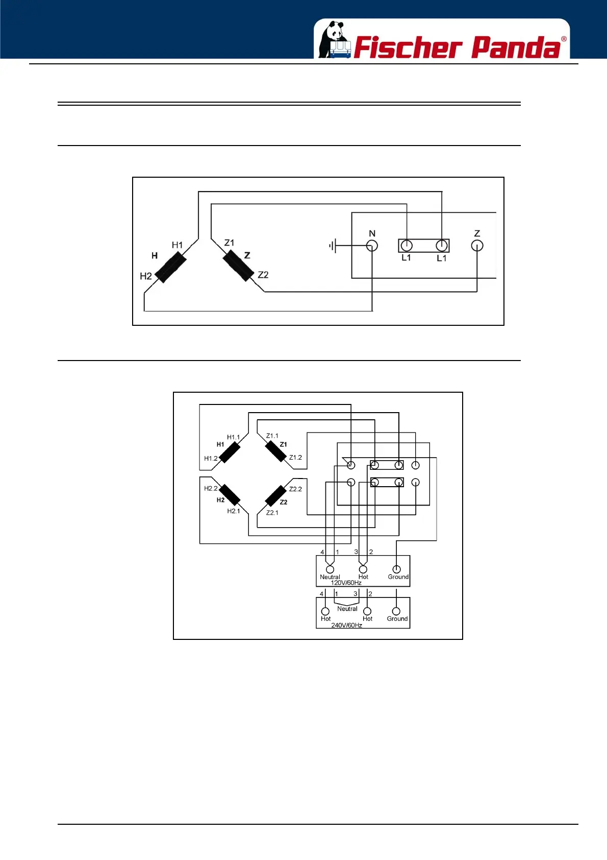
9.7 Types of coil
9.7.1 HP1 - 230V / 50 Hz
Fig. 9.7.1-1: HP1 - 230V / 50 Hz
9.7.2 HP2 - 120V / 60 Hz
Fig. 9.7.2-1: HP2 - 120V / 60 Hz

Table of Contents

Related product manuals