EasyManua.ls Logo

Fisher 667 - Page 19

Fisher 667
36 pages
Print Icon
To Next Page IconTo Next Page
To Next Page IconTo Next Page
To Previous Page IconTo Previous Page
To Previous Page IconTo Previous Page
Loading...
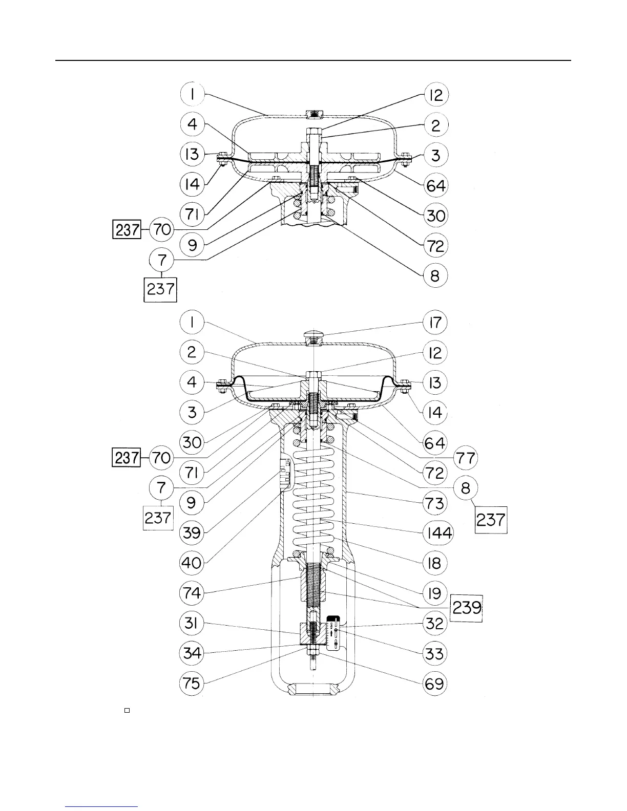
Type 667 Size 30-76 & 87
19
Figure 6. Type 667 Actuator Sizes 30 through 60
PARTIAL VIEW OF TOPĆLOADED TYPE 667
ACTUATOR SIZES 30 THROUGH 60
APPLY LUBRICANT OR SEALANT
50A8379-C/IL
50A8378-C

Related product manuals