EasyManua.ls Logo

Fisher 667 - Page 29

Fisher 667
36 pages
Print Icon
To Next Page IconTo Next Page
To Next Page IconTo Next Page
To Previous Page IconTo Previous Page
To Previous Page IconTo Previous Page
Loading...
Type 667 Size 30-76 & 87
29
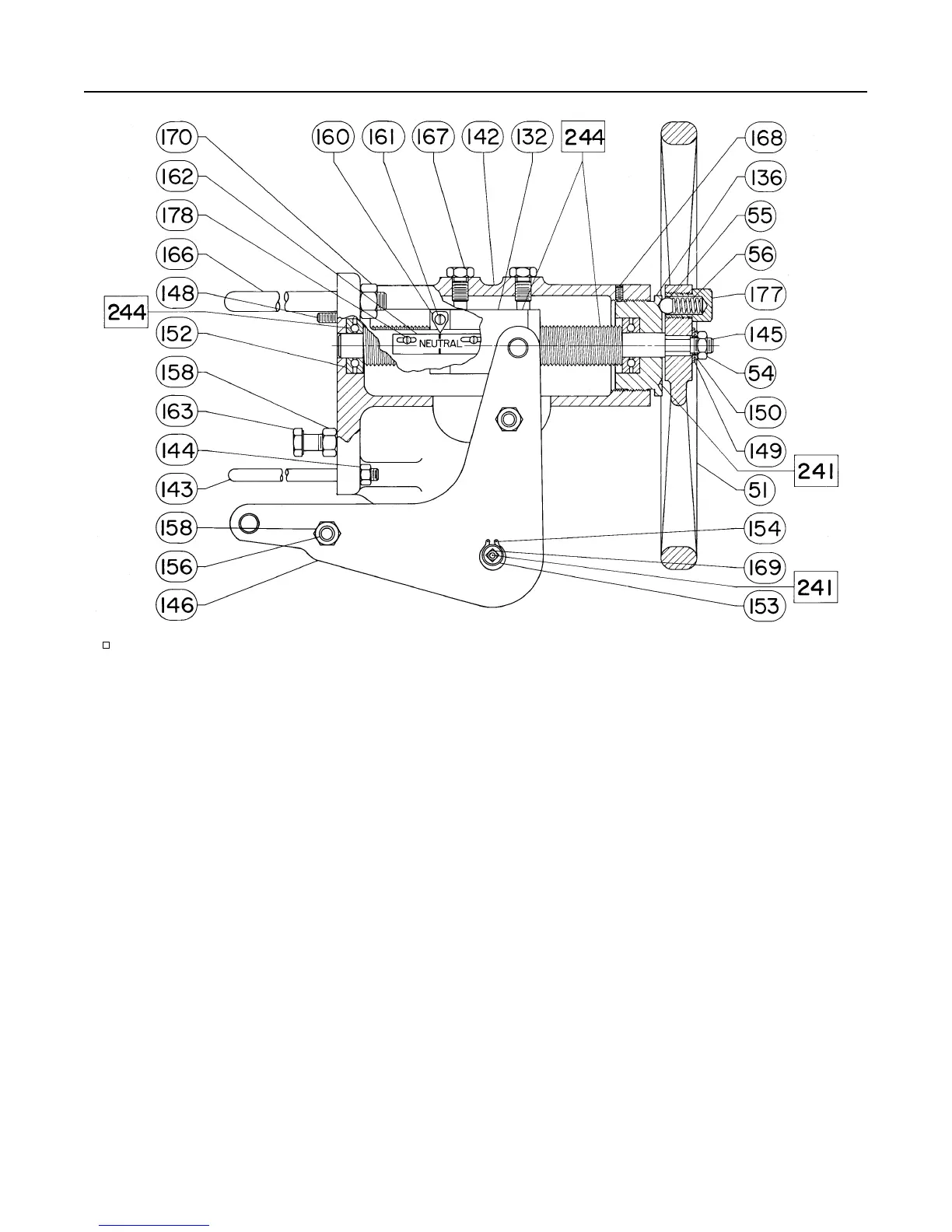
Figure 14. Side-Mounted Handwheel Assembly for Size 45 and 60 Actuators
APPLY LUBRICANT
40A8779-D / IL
Key Description Part Number Qty
145 Handwheel Screw
Bronze
Left-Hand (Direct-Acting Valve)
Sizes 34 & 40 1F6584000A2 1
Sizes 45 to 60 1F548614052 1
Right-Hand (Reverse-Acting Valve)
Size 34 & 40 1F6583000A2 1
Size 45 to 60 1F548714052 1
146 Lever & Pin Assembly
Steel
Right-Hand Side
Sizes 34 & 40 1F6614000A2 1
Sizes 45 to 60 1F1541000A2 1
Left-Hand Side
Sizes 34 & 40 1F6613000A2 1
Sizes 45 to 60 1F1539000A2 1
147 Hex Jam Nut (pl steel)
Sizes 34 & 40 1A352224122 2
148 Dowel Pin (Steel, zn pl)
Sizes 34 to 60 1D419828992 2
149 Washer (pl steel) 1A518925072 1
150 Lockwasher (pl steel) 1A353828982 1
151 Bushing (pl steel)
Sizes 34 & 40 1F657924092 1
152 Ball Bearing (steel) 1D361399012 2
Key Description Part Number Qty
153 Lever Pivot Pin (416 SST)
Sizes 34 & 40 1F658135232 1
Sizes 45 to 60 1F156235232 1
154 Retaining Ring (pl steel)
Sizes 34 & 40 1F599428982 2
Sizes 45 to 60 1A903028992 2
155 Spacer (steel)
Sizes 34 & 40 1F658224092 2
Sizes 45 to 60 1F162524092 2
156 Screw (pl steel)
Sizes 34 & 40 1U8135K0012 2
Sizes 45 to 60 1F157624052 2
157 Lockwasher (pl steel) Sizes 34 & 40 1C225628982 2
158 Hex Nut (pl steel) Sizes 34 & 40 1A345724122 2
Sizes 45 to 60 1A341224122 4
159 Pointer Mounting Bolt (416 SST)
Sizes 34 & 40 1F657835132 1
Sizes 45 to 60 1F156535132 1
160 Pointer (302 SST) 1F157536012 1
161 Machine Screw (pl steel)
Sizes 34 & 40 1A344524052 8
Sizes 45 to 60 1E175828982 1
162 Indicator Plate (Aluminum)
Sizes 34 & 40 1F936411992 1
Sizes 45 to 60 1D357411992 1

Related product manuals