EasyManua.ls Logo

Fisher 667 - Page 32

Fisher 667
36 pages
Print Icon
To Next Page IconTo Next Page
To Next Page IconTo Next Page
To Previous Page IconTo Previous Page
To Previous Page IconTo Previous Page
Loading...
Type 667 Size 30-76 & 87
32
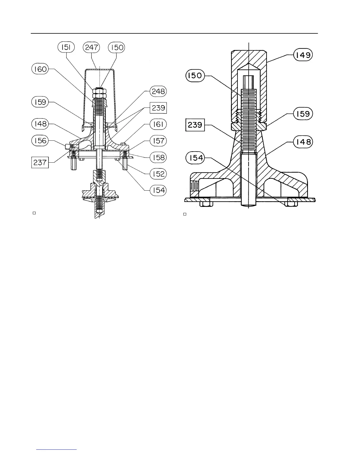
Figure 17. Style 11 Up Or Down Travel Stop
(Casing Mounted)
APPLY LUBRICANT
38A1212-B / IL
Key Description Part Number Qty
148 Travel Stop Body (cast iron) (continued)
Style 13 Up Travel Stop
Size 30 w/ 1/4 NPT Connection 37A9437X012 1
Style 13 Up Travel Stop (cont.)
Size 30 w/ 1/2 NPT Connection 37A9438X012 1
Sizes 34 & 40 w/ 1/4 NPT Connection 37A9439X012 1
Sizes 34 & 40 w/ 1/2 NPT Connection 37A9440X012 1
Sizes 45 through 60 w/ 1/4 NPT
Connection 37A9432X012 1
Sizes 45 through 60 w/ 1/2 NPT
Connection 37A9434X012 1
149 Travel Stop Cap (brass)
Style 10 Down Travel Stop
Sizes 30 through 40 1F597814012 1
Sizes 45 through 60 1H111114012 1
Sizes 70 & 87 1R387614012 1
Style 12 Up Travel Stop
Sizes 30 through 40 1F597814012 1
Sizes 45 through 60 1F839614012 1
Sizes 70 & 87 1R387614012 1
Steel
Style 12 Up Travel Stop
Sizes 30 through 40 1F597824092 1
150 Extension Rod
S41600 (416 SST)
Style 11 Up & Down Travel Stop
Sizes 34 & 40 28A1267X022 1
Steel, zn pl
Style 11 Up & Down Travel Stop
Sizes 45 through 60 28A1266X012 1
APPLY LUBRICANT
Figure 18. Style 12 Up Travel Stop (Casing Mounted)
28A1208-B / IL
Key Description Part Number Qty
150 Travel Stop Stem
S30300 (303 SST)
Style 10 Down Travel Stop
Size 30 1H330735032 1
Sizes 34 & 40 1F753635032 1
Sizes 45 through 60 1J232735032 1
Sizes 70 & 87 1V7764X00A2 1
Bronze
Style 12 Up Travel Stop
Sizes 30 through 40 27A9655X012 1
Sizes 45 through 60 27A9656X012 1
Sizes 70 & 87 27A9763X012 1
Style 13 Up Travel Stop
Size 30 27A9652X012 1
Sizes 34 & 40 27A9653X012 1
Sizes 45 through 60 27A9654X012 1
151 Hex Jam Nut (steel, zn pl)
Style 10 Down Travel Stop
Sizes 30 through 40 1A3537X0042 1
Sizes 45 through 87 1A3511X0062 1
Style 11 Up & Down Travel Stop
Sizes 34 & 40 1K130824122 2
Sizes 45 through 60 1K130424122 2
Style 13 Up Travel Stop
Sizes 30 through 60 18A2300X012 1
Style 14 Up Travel Stop
Sizes 30 through 60 1A319224122 1
Sizes 70, 87 1F118724122 1
152 Travel Stop
Style 10 and 11 Travel Stops See table

Related product manuals