EasyManua.ls Logo

Fisher 8560 - Page 35

Fisher 8560
36 pages
Print Icon
To Next Page IconTo Next Page
To Next Page IconTo Next Page
To Previous Page IconTo Previous Page
To Previous Page IconTo Previous Page
Loading...
Instruction Manual
D102013X012
8560 Valve
June 2017
35
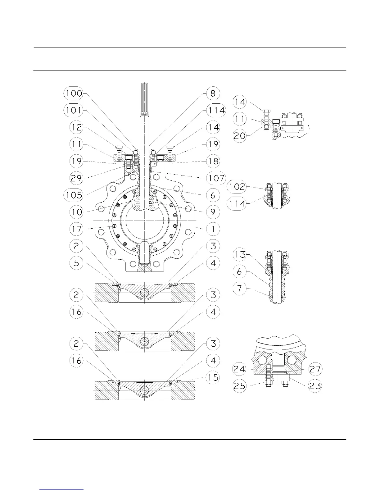
Figure 14. Valve Assembly for NPS 3 through 12 (Continued)
SINGLE FLANGE‐STYLE VALVE
NOTE:
KEY NUMBERS NOT SHOWN ARE 21, 22, AND 115
75B0092‐B
TWO PIECE
ADAPTOR ASSY
ALLOY FOLLOWER
ASSY
METAL BEARING
CL150
SIZE 12 CL300
PTFE SEAL
NOVEX SEAL
PHOENIX III SEAL

Related product manuals