EasyManua.ls Logo

FLASHFORGE 3D PRINTER Foto 8.9s - Getting To Know Your 3 D Printer; Printer Components Identification

FLASHFORGE 3D PRINTER Foto 8.9s
16 pages
Print Icon
To Next Page IconTo Next Page
To Next Page IconTo Next Page
To Previous Page IconTo Previous Page
To Previous Page IconTo Previous Page
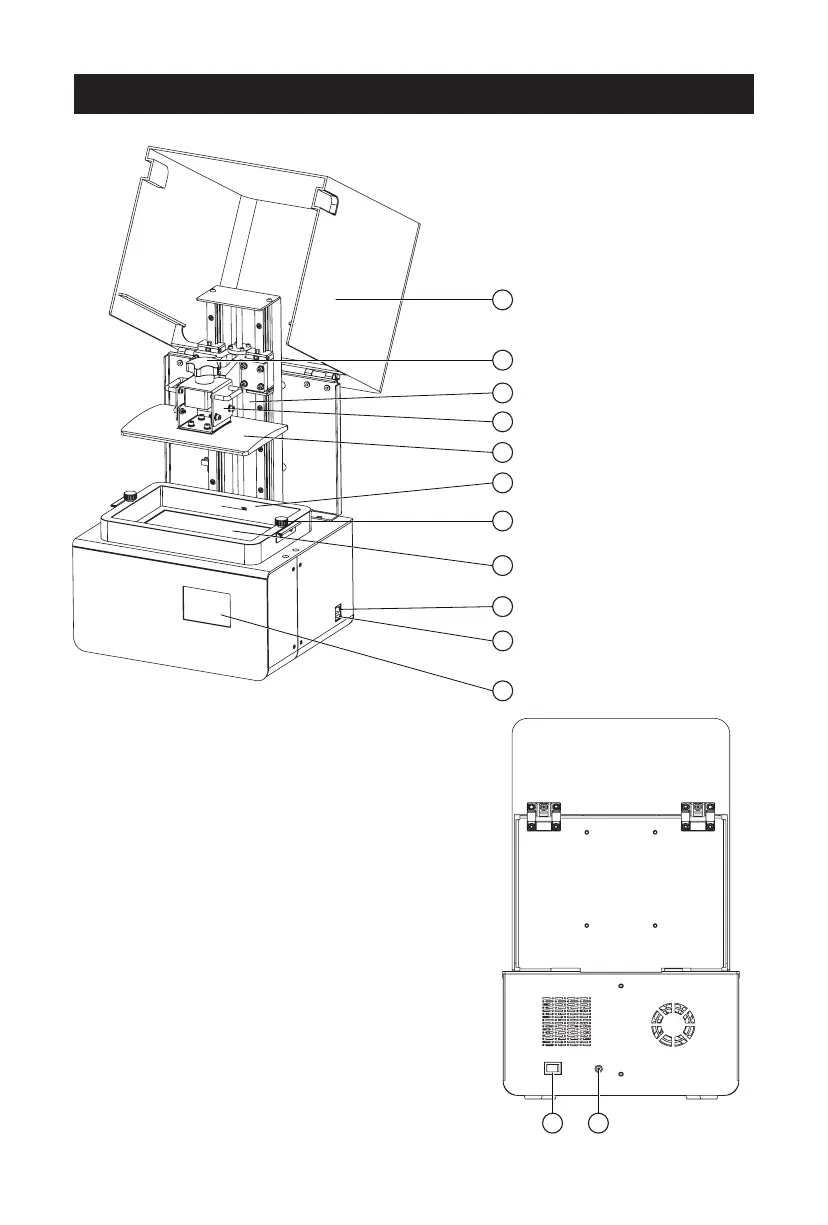
Loading...
Getting To Know Your 3D Printer
6. Resin Box
8. LCD
9. Ethernet
5. Build Plate
2. Platform Tighten Knob 3. Z-axis
11. Touched Screen
7. Box Tighten Knob
10. USB Stick Port
13. Power Slot
1. Light Shield
12. Power switch
4. Leveller
03
2
6
8
7
9
11
4
5
3
10
1
12
13

Related product manuals