EasyManua.ls Logo

Flexim FLUXUS F809 F1 Series - Page 46

Default Icon
186 pages
To Next Page IconTo Next Page
To Next Page IconTo Next Page
To Previous Page IconTo Previous Page
To Previous Page IconTo Previous Page
Loading...
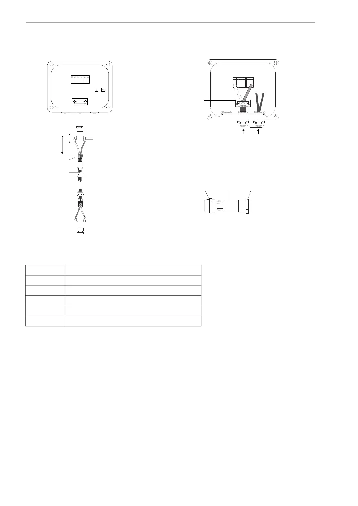
FLUXUS F808, F809 6 Installation of FLUXUS F808
46 UMFLUXUS_F808_8091V1-2-1EN, 2019-08-23
Fig. 6.21: Connection of the extension cable to the junction box
Tab. 6.17: Terminal assignment (junction box JB04, KL2)
terminal connection (extension cable)
TV white or marked cable (core)
TVS white or marked cable (internal shield)
TRS brown cable (internal shield)
TR brown cable (core)
shield terminal external shield
T V
T V S
T G
T
G
T R S
T R
X V X R
cable gland
extension cable
cap nut
compression part basic part
shield terminal
extension cable transducer cable
external shield
X V X R
K L 2
T V
T V S
T G
T G
T R S
T R
100 mm
20 mm
10 mm

Table of Contents

Related product manuals