EasyManua.ls Logo

Flowserve R - Page 53

Flowserve R
56 pages
Print Icon
To Next Page IconTo Next Page
To Next Page IconTo Next Page
To Previous Page IconTo Previous Page
To Previous Page IconTo Previous Page
Loading...
R and RX SLURRY Pump USER INSTRUCTIONS ENGLISH 71569242 03-11 (E)
Page 53 of 56 flowserve.com
®
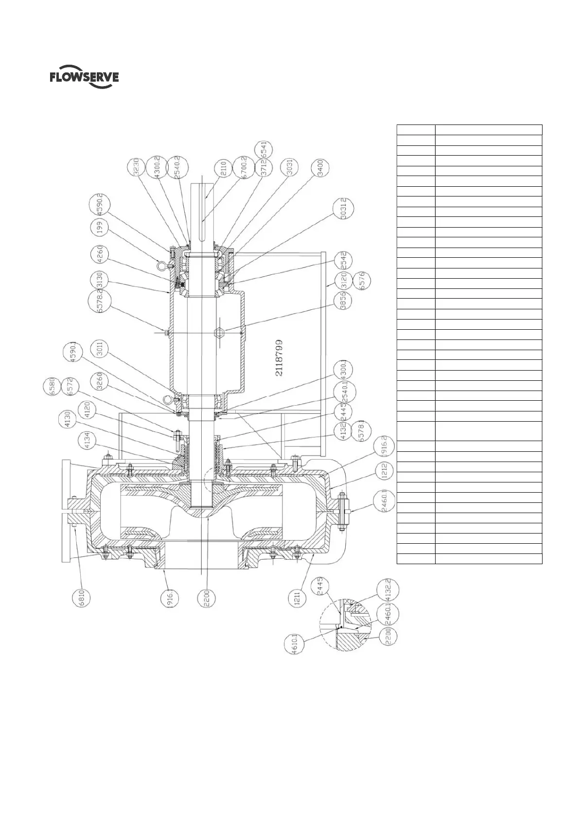
8.5 Frame 6 (18R416)
Drawing #2118799
Ref. Description
1211 Casing, Suction Side
1212 Casing, Gland Side
1916.1 Liner-suction side
1916.2 Liner-Gland Side
2110 Pump shaft
2200 Impeller
2445 Shaft sleeve
2460.1 Spacer, Impeller
2460.2 Spacer-Casing
2540.1 Deflector
2540.2 Deflector (optional)
2542 Clamping Ring
2912 Impeller Nut
3011 Radial ball bearing
3031 Thrust bearing
3110 Bearing bracket
3120 Bearing support pedestal
3230 Thrust bearing housing
3260 Bearing Cover
3712 Bearing lock nut
3840 Lubricating pipe
3856 Oil site gauge
4120 Gland
4130 Packing
4132 Stuffing Box Bushing
4134 Lantern Ring
4260 Spring
4300.1 Radial lip seal, Line brg.
4300.2 Radial lip seal, Thrust
Brg.
4590.1 Gasket, Inboard Brg.
4590.2 Gasket, Outboard
4610.1 O-ring, shaft sleeve
6541 Lockwasher
6572 Stud, gland
6576 Adjusting screw
6578.1 Threaded plug, Pipe Plug
6578.2 Threaded plug, Vent Plug
6580 Nut, gland
6700.1 Key, coupling
6700.2 Key, shaft
6810 Dowel Pin

Table of Contents

Related product manuals