EasyManua.ls Logo

Fora Diamond GD50 - Page 90

Fora Diamond GD50
144 pages
Print Icon
To Next Page IconTo Next Page
To Next Page IconTo Next Page
To Previous Page IconTo Previous Page
To Previous Page IconTo Previous Page
Loading...
RO-7
Înțepăturile repetate în același loc pot provoca inamații și
bătături.
Evitați înțepăturile în zonele cu vene evidente pentru a evita
sângerările excesive.
Se recomandă eliminarea primei picături de sânge deoarece
ar putea conține lichid tisular care poate afecta rezultatul
testului.
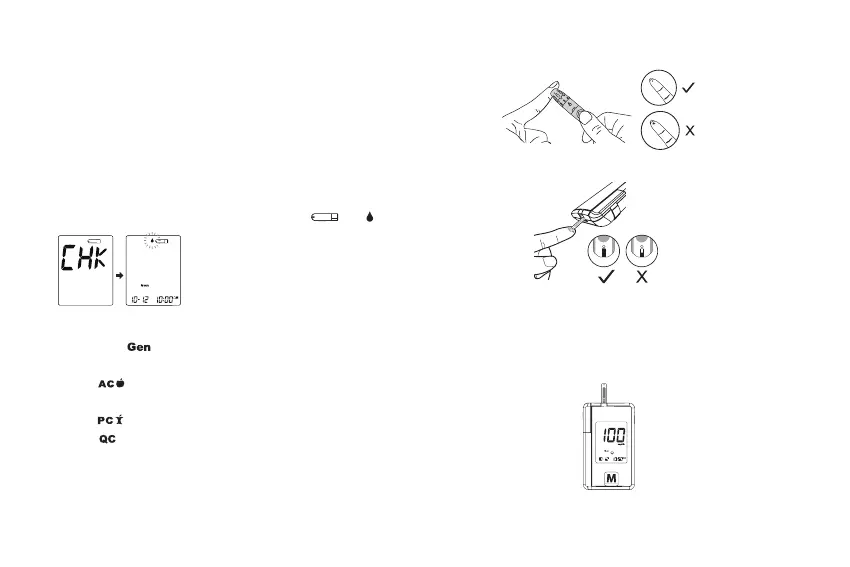
Efectuarea unei măsurări a glicemiei
1. Introduceţi testul în fantă.
Aşteptaţi să se aşeze pe ecran simbolurile şi ”.
2. Alegeţi modul de măsurare prin apăsarea butonului M.
General ( ) - în orice moment al zilei, indiferent de
timpul scurs de la ultima masă.
AC ( ) - când nu s-au consumat alimente timp de cel
puţin 8 ore.
PC ( ) - la 2 ore după o masă.
QC ( ) - testare cu soluţie de control.
3. Recoltarea picăturii de sânge.
Folosiţi dispozitivul de înţepare deja pregătit, pentru a vă
înţepa în locul dorit. Îndepărtaţi prima picătură de sânge cu
un tampon de vată. Stoarceţi uşor locul înţepării pentru a
obţine o nouă picătură de sânge. Volumul probei de sânge
trebuie să e de cel puţin 0.5 microlitri (μL). Aveţi grijă să NU
împrăştiaţi proba de sânge.
4. Aplicaţi pe test picătura de sânge.
Aplicaţi picătura de sânge pe oriciul absorbant din vârful
testului. Fereastra de conrmare trebuie să se umple dacă
picătura a fost sucient de mare. NU îndepărtaţi degetul
înainte de a auzi un bip de conrmare.
5. Citiţi rezultatul.
(100 mg/dL = 5.5mmol/L)
Rezultatul măsurării glicemiei se aşează la terminarea

Table of Contents

Other manuals for Fora Diamond GD50

Related product manuals