EasyManua.ls Logo

Ford 2016 EXPLORER - Page 295

Ford 2016 EXPLORER
541 pages
Print Icon
To Next Page IconTo Next Page
To Next Page IconTo Next Page
To Previous Page IconTo Previous Page
To Previous Page IconTo Previous Page
Loading...
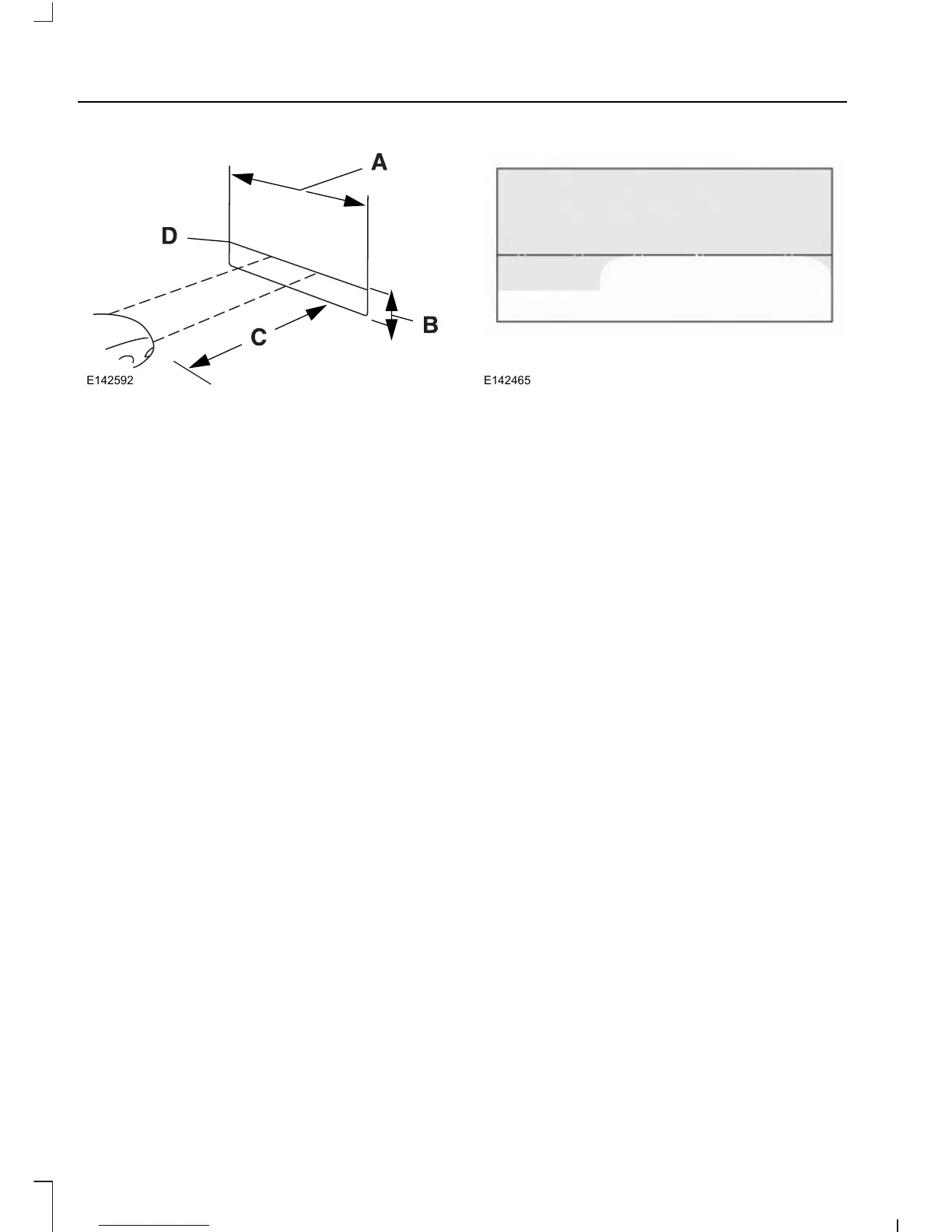
E142592
8 ft (2.4 m)A
Ground to the center of the
headlamp high beam bulb
B
25 ft (7.6 m)C
Horizontal reference lineD
Vertical Aim Adjustment Procedure
1. Park your vehicle on level ground
approximately 25 ft (7.6 m) from a wall
or screen.
2. Measure the distance from the ground
to the center of the headlamp high
beam bulb and mark an 8 ft (2.4 m)
long horizontal reference line on the
wall or screen at this height.
Note: There may be an identifying mark on
the lens to help you locate the center line
of the headlamp high beam bulb. Refer to
the graphic below step 4.
Note: To see a clearer light pattern for
adjusting, you may want to block the light
from one headlamp while adjusting the
other.
3. Switch on the low beam headlamps
and open the hood.
E142465
4. On the wall or screen you will observe
a flat zone of high intensity light
located at the top of the beam pattern.
If the top edge of the flat zone of high
intensity light is not on the horizontal
reference line, adjust the aim of the
headlamp beam.
292
Explorer (TUB), enUSA, First Printing
Maintenance

Table of Contents

Other manuals for Ford 2016 EXPLORER

Related product manuals