EasyManua.ls Logo

Franke DVS SD99-009 - Page 5

Franke DVS SD99-009
36 pages
Print Icon
To Next Page IconTo Next Page
To Next Page IconTo Next Page
To Previous Page IconTo Previous Page
To Previous Page IconTo Previous Page
Loading...
- 5 -
ZMI_001_2030039032-SD99-009_#SALL_#AQU_#V3.fm
Installation and operating
instructions Montage- und Betriebsanleitung
Important notes Wichtige Hinweise
from factory: Not suitable for disinfectant
soaps!
ab Werk: Nicht für Desinfektionsmittel und
Schaumseife geeignet!
Use only cream soap or liquid soap!
Do not use any soaps with solid contents
such as sand or granular material!
Use only soaps with a viscosity of
100 bis 3500 cp (mpA × s)!
Nur reine Crem- oder Flüssigseife
verwenden!
Keine Seifen mit Feststoffanteilen wie
Sand oder Granulat verwenden!
Nur Seifen mit einer Viskosität von
100 bis 3500 cp (mpA × s) verwenden!
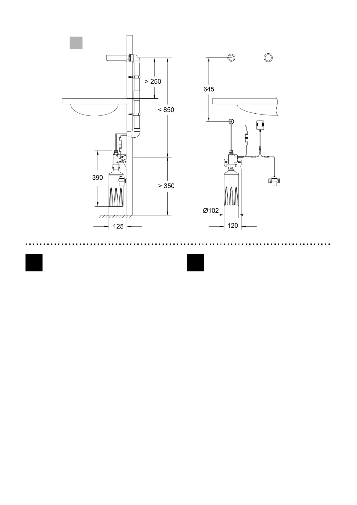
Technical data Technische Daten
Contents of soap tank 2 l Inhalt Seifentank 2 l
Power supply AC: 220 V;
Battery DC: 4× 1,5 V
Spannungsversorgung AC: 220 V;
Batterie DC: 4× 1,5 V
C
EN
DE

Related product manuals