EasyManua.ls Logo

Franke FAK 607 - Installazione

Franke FAK 607
68 pages
Print Icon
To Next Page IconTo Next Page
To Next Page IconTo Next Page
To Previous Page IconTo Previous Page
To Previous Page IconTo Previous Page
Loading...
IT
1
15
11a
11
11
12a
22
190
190
7.3
190 190
835
362
X
1÷2
7.2.1
min. 250
max. 380
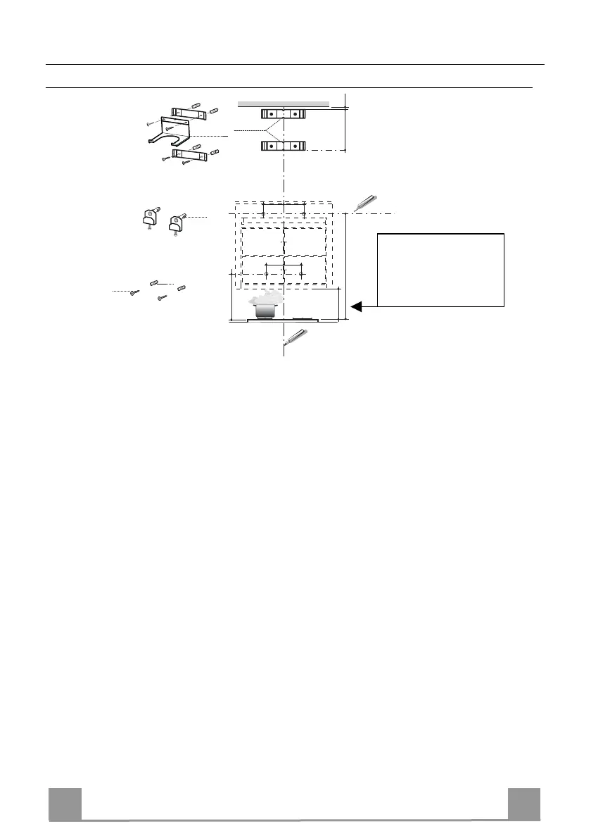
INSTALLAZIONE
Foratura Parete e Fissaggio Staffe
Tracciare sulla Parete:
una linea Verticale fino al soffitto o al limite superiore, al centro della zona prevista per il montaggio
della Cappa;
una linea Orizzontale a 835 mm min. sopra il Piano di Cottura.
Segnare un punto (1) sulla linea orizzontale a 190 mm alla destra della linea verticale di riferimento.
Ripetere questa operazione dalla parte opposta, verificandone il livellamento.
Segnare come indicato, un punto di riferimento (2) a 190 mm dalla linea Verticale di riferimento, e 362
mm sopra il Piano di Cottura.
Ripetere questa operazione dalla parte opposta, verificandone il livellamento.
Forare ø 12 mm i punti (1) segnati.
Forare ø 8 mm i punti (2) segnati.
Inserire i tasselli con staffa 11a nei fori 1 e avvitare.
• Inserire il tassello 11 nel foro 2.
Per installazione con camino decorativo: (Opzionale)
Appoggiare come indicato la Staffa 7.2.1 a 1-2 mm dal soffitto o dal limite superiore, allineando il suo
centro (intagli) sulla linea Verticale di riferimento.
Segnare i centri dei Fori della Staffa.
Appoggiare come indicato la Staffa 7.2.1 a X mm sotto la prima staffa (X = altezza Camino Superiore
in dotazione), allineando il suo centro (intagli) sulla linea Verticale di riferimento.
Segnare i centri dei Fori della Staffa.
Forare ø 8 mm i punti segnati.
• Inserire i tasselli 11 nei fori.
Fissare la Staffa inferiore 7.2.1 utilizzando le Viti 12a (4,2 x 44,4 ) in dotazione.
Fissare insieme la Staffa superiore 7.2.1 e la Staffa sostegno raccordo 7.3 utilizzando le 2 viti 12a (4,2 x
44,4) in dotazione.
Le quote di foratura
sono riferite alla di-
stanza minima di sicu-
rezza di 250 mm

Related product manuals