EasyManua.ls Logo

Franke FAK 607 - Installation

Franke FAK 607
68 pages
Print Icon
To Next Page IconTo Next Page
To Next Page IconTo Next Page
To Previous Page IconTo Previous Page
To Previous Page IconTo Previous Page
Loading...
DK
5
51
11a
11
11
12a
22
190
190
7.3
190 190
835
362
X
1÷2
7.2.1
min. 250
max. 380
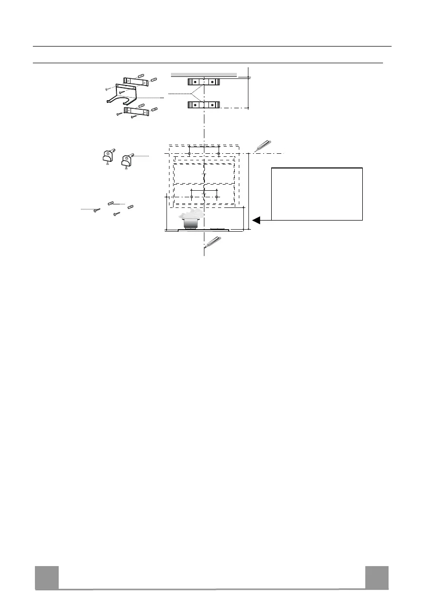
INSTALLATION
Boring i væg og befæstigelse af beslag
På væggen skal der afmærkes:
en lodret linje op til loftet eller den øverste grænse, i midten af emhættens monteringsområde;
en vandret linje mindst 835 mm over kogepladen.
• Sæt et mærke (1) på den vandrette linje 190 mm til højre for den lodrette referencelinje.
Gør det samme på den anden side, og kontrollér nivelleringen.
• Sæt et mærke (2) som vist 190 mm fra den lodrette referencelinje, 362 mm over kogepladen.
Gør det samme på den anden side, og kontrollér nivelleringen.
Bor et hul med ø 12 mm (1) på de afmærkede steder.
Bor et hul med ø 8 mm (2) på de afmærkede steder.
Sæt forankringerne med beslag 11a i hullerne 1, og skru dem til.
• Sæt forankringen 11 i hullet 2.
Ved installation med pynteaftræk: (ekstraudstyr)
• Placér beslaget 7.2.1 som vist, d.v.s. 1-2 mm fra loftet eller den øverste grænse, og stil dets midte (ind-
skæringer) på lige linje med den lodrette referencelinje.
Afmærk midten af hullerne i beslaget.
• Placér beslaget 7.2.1 som vist, X mm under det første beslag (X=højden på det øverste aftræk, der føl-
ger med), og stil dets midte (indskæringer) på lige linje med den lodrette referencelinje.
Afmærk midten af hullerne i beslaget.
Bor et hul med ø 8 mm på de afmærkede steder.
• Sæt forankringerne 11 i hullerne.
Fastgør det nederste beslag 7.2.1 ved hjælp af de medfølgende skruer 12a (4,2 x 44,4 ).
Fastgør det øverste beslag 7.2.1 og overgangsstykkets støttebeslag 7.3 ved hjælp af de 2 medfølgende
skruer 12a (4,2 x 44,4).
Positionsværdierne for
boring gælder ved en
sikkerhedsafstand på
mindst 250 mm

Related product manuals