EasyManua.ls Logo

Franke FAK 607 - Instalace

Franke FAK 607
68 pages
Print Icon
To Next Page IconTo Next Page
To Next Page IconTo Next Page
To Previous Page IconTo Previous Page
To Previous Page IconTo Previous Page
Loading...
CZ
6
60
11a
11
11
12a
22
190
190
7.3
190 190
835
362
X
1÷2
7.2.1
min. 250
max. 380
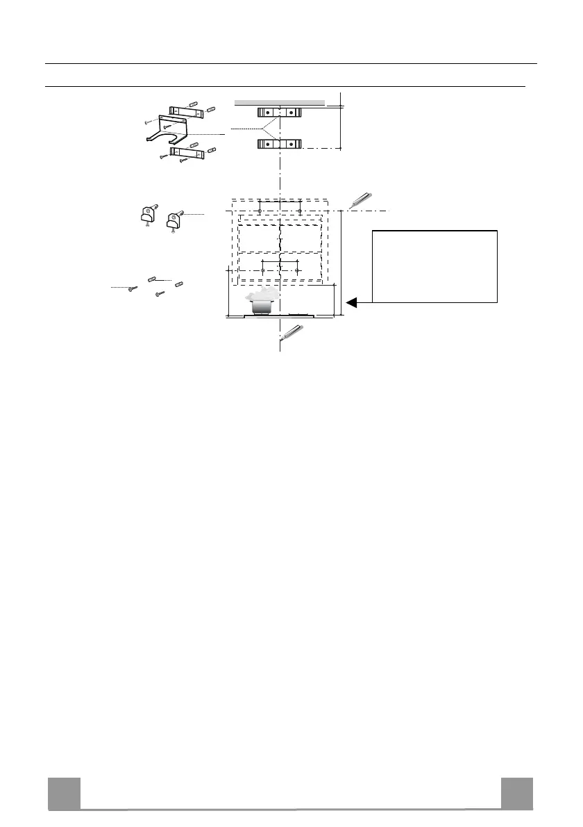
INSTALACE
Vyvrtání stěny a upevnění konzol
Na stěně vyznačte:
• svislou čáru až ke stropu nebo k horní ploše uprostřed prostoru plánovaného pro montáž digestoře;
• vodorovnou čáru minimálně 835 mm nad varnou desku.
• Vyznačte bod (1) na vodorovnou čáru ve vzdálenosti 190 mm napravo od svislé orientaččáry.
Zopakujte stejný postup na opačné straně a zkontrolujte vyrovnání.
• Vyznačte, jak je označeno, orientační bod (2) ve vzdálenosti 190 mm od svislé orientaččáry a 362
mm nad varnou desku.
Zopakujte stejný postup na opačné straně a zkontrolujte vyrovnání.
Vyvrtejte ø 12 mm v označených bodech (1).
Vyvrtejte ø 8 mm v označených bodech (2).
• Do otvorů 1 vložte hmoždinky s konzolou 11aa zašroubujte je.
• Do otvoru 2 vložte hmoždinku 11.
Při instalaci provedení s ozdobným komínem: (volitelné)
• Umístěte, jak je označeno, konzolu 7.2.1 do vzdálenosti 1-2 mm od stropu nebo od horní plochy a
vyrovnejte její střed (zářezy) podle svislé orientaččáry.
• Označte středy otvorů konzoly.
• Umístěte, jak je označeno, konzolu 7.2.1 do vzdálenosti X mm pod první konzolu (X = výška horního
komínu, který je součástí vybavení) a vyrovnejte její střed (zářezy) podle svislé orientaččáry.
• Označte středy otvorů konzoly.
Vyvrtejte ø 8 mm v označených bodech.
• Do otvorů vložte hmoždinky 11.
• Upevněte dolní konzolu 7.2.1 pomocí šroubů 12a (4,2 x 44,4 ), které jsou součástí vybavení.
Pomocí dvou šroubů 12a (4,2 x 44,4), které jsou součástí vybavení, připevněte k sobě horní konzolu
7.2.1 a podpěrnou konzolu přípojky 7.3.
Kvóty vyvrtání se vzta-
hují k minimální be-
zpečnostní vzdálenosti
250 mm

Related product manuals